EasyManua.ls Logo

Gozney Dome - Using Temperature Probes

Gozney Dome
72 pages
Print Icon
To Next Page IconTo Next Page
To Next Page IconTo Next Page
To Previous Page IconTo Previous Page
To Previous Page IconTo Previous Page
Loading...
29
482
°F
OVEN T
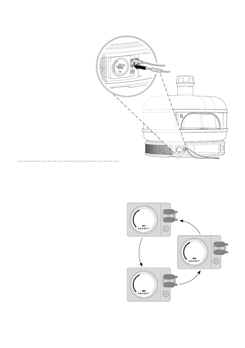
USING THE PROBES
When the temperature probes are
connected to the screen, the display will
automatically begin to cycle through the
temperatures of the oven and the two
probes.
482
°F
OVEN T
124
°F
PROBE T ll
108
°F
PROBE T ll

Related product manuals