EasyManua.ls Logo

Graco 237526 - Air Motor

Graco 237526
24 pages
Print Icon
To Next Page IconTo Next Page
To Next Page IconTo Next Page
To Previous Page IconTo Previous Page
To Previous Page IconTo Previous Page
Loading...
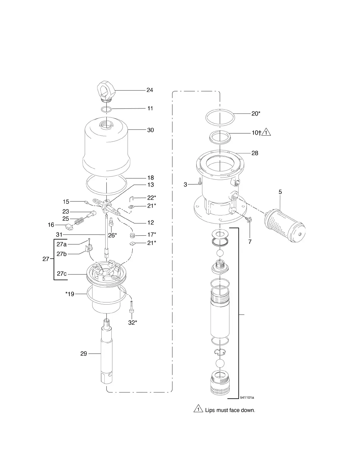
Parts
18 308485R
Air Motor
See Pump Parts Drawing
and List, page 15.

Related product manuals