EasyManua.ls Logo

GRE HPM20 - Page 58

GRE HPM20
148 pages
Print Icon
To Next Page IconTo Next Page
To Next Page IconTo Next Page
To Previous Page IconTo Previous Page
To Previous Page IconTo Previous Page
Loading...
55
4.2 Mise en service initiale de l'unité
Nota : Veuillez-vous assurer que la pompe de filtration fonctionne avec un débit d'eau adéquat. La pompe à
chaleur de démarre pas si l’eau ne circule pas à l’intérieur.
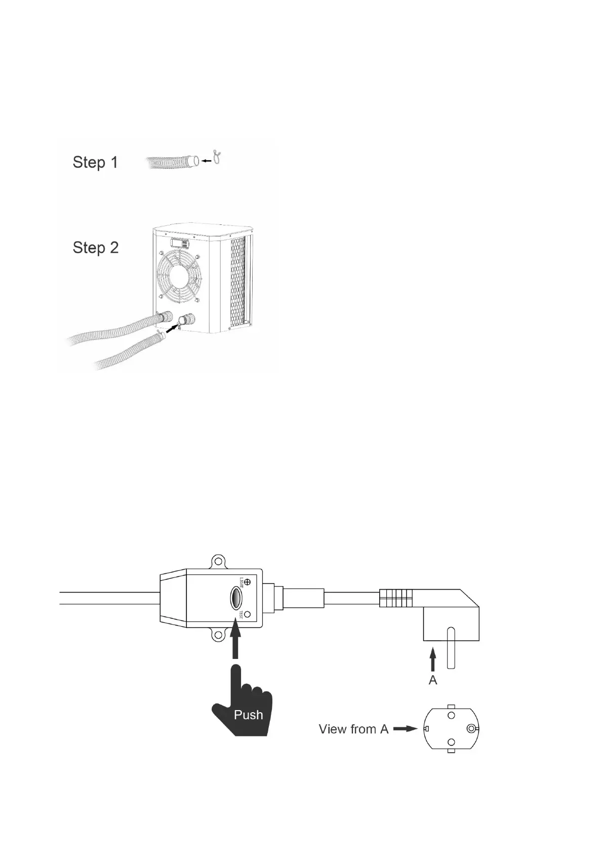
4.3 Raccordement des tuyaux
Note :
Seule la pompe à chaleur est fournie. Tous les autres éléments, y compris les tuyaux, doivent être fournis par
l'utilisateur ou l'installateur.
4.4 Raccordement électrique
Avant de brancher l'appareil, vérifiez que la tension d'alimentation correspond à la tension de fonctionnement
de la pompe à chaleur.
La prise RCD est fournie avec un câble d'alimentation offrant une protection électrique.

Other manuals for GRE HPM20

Related product manuals