EasyManua.ls Logo

GRE HPM20 - Page 75

GRE HPM20
148 pages
Print Icon
To Next Page IconTo Next Page
To Next Page IconTo Next Page
To Previous Page IconTo Previous Page
To Previous Page IconTo Previous Page
Loading...
72
4.2 Erstinbetriebnahme
Hinweis: Um das Wasser im Pool (oder Whirlpool) zu erwärmen, muss die Pumpe so laufen, dass das
Wasser durch die Wärmepumpe zirkuliert. Die Wärmepumpe läuft nicht an, wenn das Wasser nicht
zirkuliert.
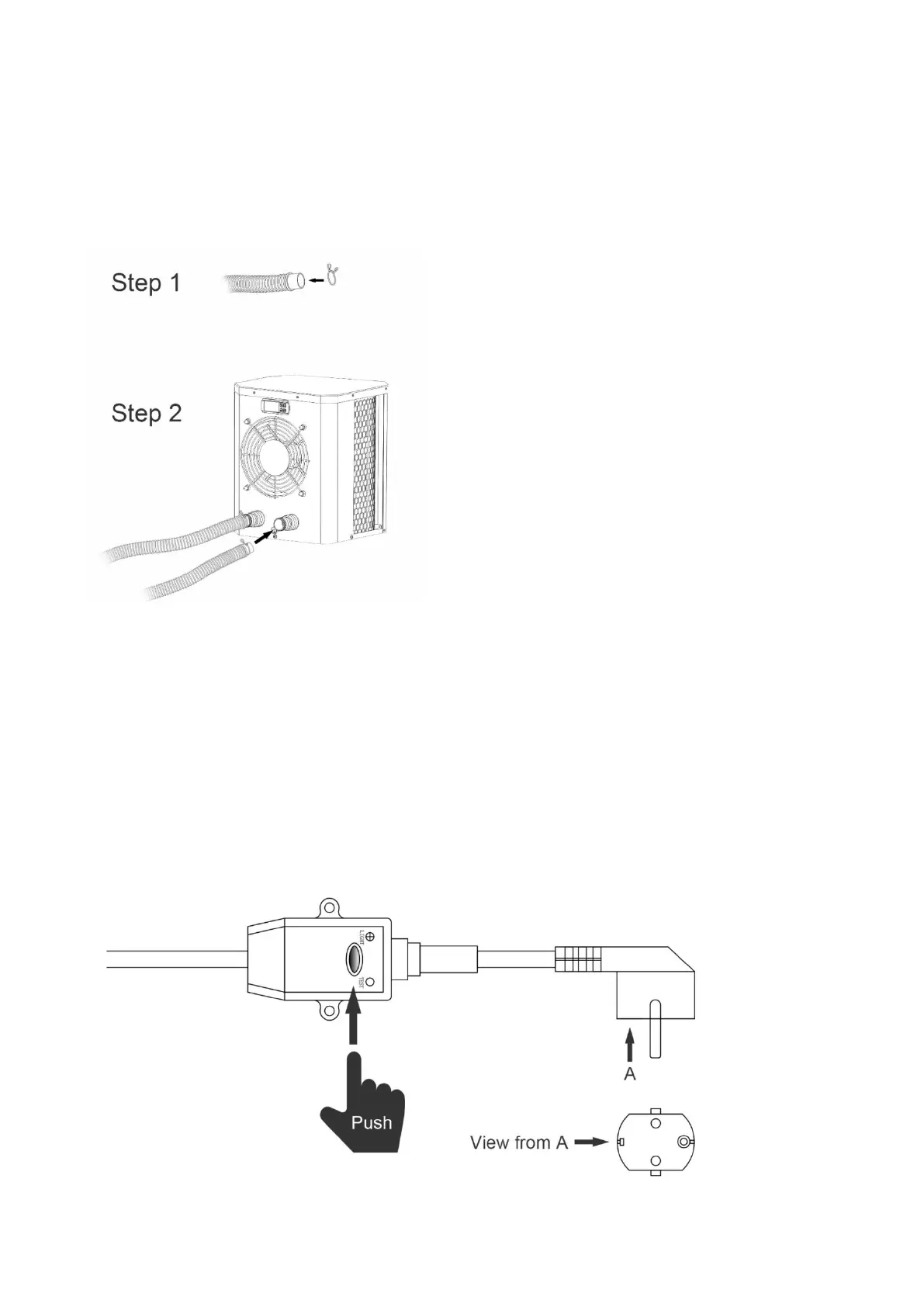
4.3 Schlauchverbindung
Anmerkung:
Das Werk liefert nur die Wärmepumpe. Alle anderen Komponenten, einschließlich zweier Schläuche, müssen
vom Benutzer oder vom Installateur bereitgestellt werden.
4.4 Stromanschluss
Vergewissern Sie sich vor dem Anschließen des Gerätes, dass die Versorgungsspannung mit der
Betriebsspannung der Wärmepumpe übereinstimmt. Der RCD-Stecker wurde mit dem Netzkabel mitgeliefert,
das einen elektrischen Schutz bieten kann.

Other manuals for GRE HPM20

Related product manuals