EasyManua.ls Logo

Greenheck DGX - Water Wizard Start-Up

Greenheck DGX
48 pages
Print Icon
To Next Page IconTo Next Page
To Next Page IconTo Next Page
To Previous Page IconTo Previous Page
To Previous Page IconTo Previous Page
Loading...
27
NOTE!
The minimum cooling temperature is preset to the factory recommended 75ºF. Steps 5-7 should only
be complete if the minimum cooling temperature needs adjustment.
NOTE!
The inlet air sensor function overrides and shuts down the evaporative cooler if the outside
temperature falls below the minimum cooling temperature.
Step 5 Enter Program Mode
Press and hold the Enter Key for three seconds.
The display will read “Pro” when Program Mode is
active. See figure #54.
Start-Up - Water Wizard™ (Optional)
NOTE!
The manual supply valve ships closed and must be
adjusted for proper performance.
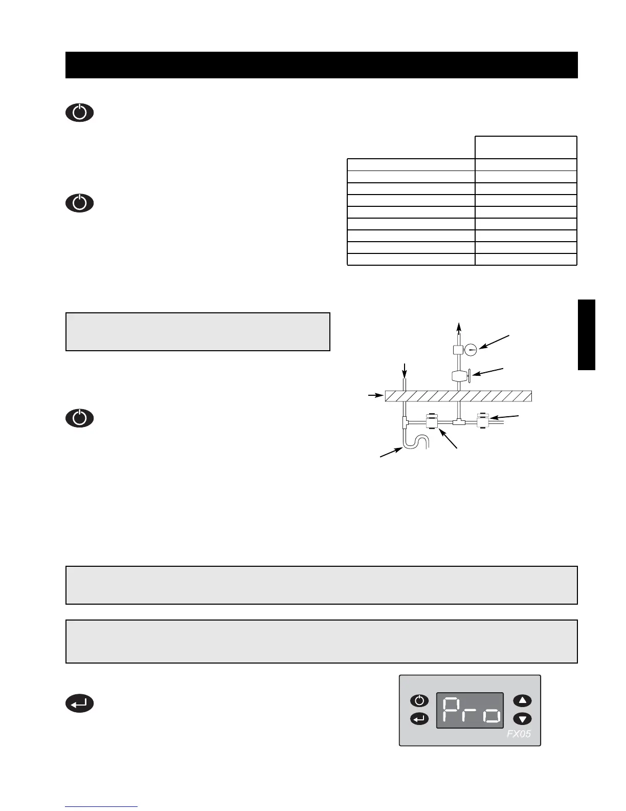
Step 2 Set the Water Pressure
With the solenoid open, set the supply
water pressure to the correct setting from
table 2. Use the manual supply valve to
adjust the supply pressure. A pressure
gauge is provided between the manual
supply valve and the media. See figure #53.
Step 3 Close Solenoid
With the pressure set, press the Function
Key for one second to deactivate Flow Test
Mode and allow the supply solenoid to
close.
Step 4 Check Media
Start the cooling cycle and check the media after one hour of operation. If the media is continuously
dry or if too much water is draining from the sump tank, refer to the Trouble Shooting section.
Water Pressure
(in. w.c.)
MSU 12 20
MSU 22 (43
3
4 in. wide*) 36
MSU 22 (48 in. wide*) 42
MSU 22 (60 in. wide*) 61
MSU 32 (66 in. wide*) 72
MSU 32 (96 in. wide*
+
)42
MSU 35 61
MSU 38 37
MSU 42 51
*Total media width
+
Two 48 inch media sections
Step 1 Open the Solenoid
Confirm that the manual water supply valve is closed. Press and hold the Function Button for one
second. L3 will begin blinking (short on, long off), indicating that Flow Test Mode is active and the
supply solenoid is open.
Figure 54. Program Display
Drain Solenoid
Supply
Solenoid
Manual
Supply Valve
Pressure
Gauge
To Media
Sump
Drain
Roof
Line
Trap
Figure 53. Water Wizard Installation
Start-Up
Table 2. Recommended Water Pressure

Related product manuals