EasyManua.ls Logo

Greenheck ERV-45 - Service Clearances for Larger Models; ERV-90, ERV-120 Clearance Diagrams

Greenheck ERV-45
32 pages
Print Icon
To Next Page IconTo Next Page
To Next Page IconTo Next Page
To Previous Page IconTo Previous Page
To Previous Page IconTo Previous Page
Loading...
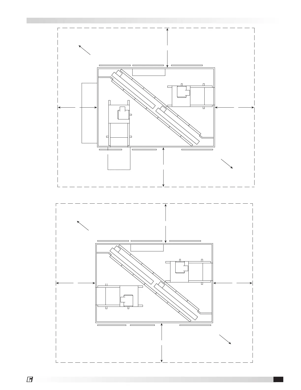
ERV-90 and ERV-120
SUPPLY FILTERS
WHEEL CASSETTE
EXHAUST FILTERS
WHEEL CASSETTE
EXHAUST
AIR HOOD
OUTDOOR
AIR HOOD
ELECTRICAL
ACCESS DOOR
ACCESS DOOR
ACCESS DOORSACCESS DOORACCESS DOOR
ACCESS DOORACCESS DOOR
A
B B
A
CASSETTE REMOVAL
SUPPLY FILTERS
WHEEL CASSETTE
EXHAUST FILTERS
WHEEL CASSETTE
ELECTRICAL
ACCESS DOORS
ACCESS DOORACCESS DOOR
ACCESS DOORACCESS DOOR
A
B B
A
CASSETTE REMOVAL
CASSETTE REMOVAL
CASSETTE REMOVAL
End Exhaust Discharge
SUPPLY FILTERS
WHEEL CASSETTE
EXHAUST FILTERS
WHEEL CASSETTE
EXHAUST
AIR HOOD
OUTDOOR
AIR HOOD
ELECTRICAL
ACCESS DOOR
ACCESS DOORSACCESS DOORACCESS DOOR
ACCESS DOORACCESS DOOR
A
B B
A
CASSETTE REMOVAL
CASSETTE REMOVAL
Side Exhaust Discharge
Energy Recovery Ventilator 7
®

Related product manuals