EasyManua.ls Logo

Grip Rite GRTFC83 - Tool Operation Procedures; Loading Fasteners; Unloading Nails

Default Icon
40 pages
Print Icon
To Next Page IconTo Next Page
To Next Page IconTo Next Page
To Previous Page IconTo Previous Page
To Previous Page IconTo Previous Page
Loading...
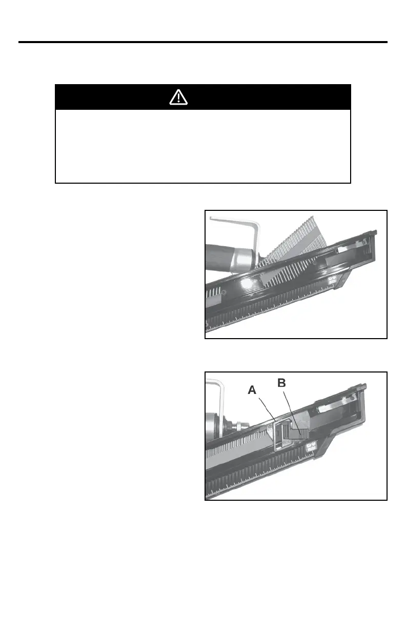
LOADING INSTRUCTIONS
1. Hold tool handgrip securely.
2. Insert nail strip into TOP of
magazine, with nail points
angled forward and down.
Slide nail strip forward.
3. Pull pusher (A) back to rear of
magazine, behind last nail strip.
4. Slide pusher forward to engage
last nail strip, and release.
5. Tool is now loaded and ready
for normal operation.
UNLOADING NAILS
1. Pull pusher back, fully depress
pusher lever (B), then slide pusher
all the way forward to front
of magazine.
2. Release pusher lever (B).
3. Slide nail strips back to rear of
magazine, and remove the
nails from magazine.
OPERATION
DANGER
A fastener can be driven unintentionally if the trigger and safety
bracket are activated at the same time. Always disconnect tool
from air supply before loading fasteners, making adjustments, or
performing any service on tool. Keep finger off trigger until ready
to drive a fastener.
10
LOADING FASTENERS

Related product manuals