EasyManua.ls Logo

Grip Rite GRTFC83 - Carga de Sujetadores; Operación

Default Icon
40 pages
Print Icon
To Next Page IconTo Next Page
To Next Page IconTo Next Page
To Previous Page IconTo Previous Page
To Previous Page IconTo Previous Page
Loading...
OPERACIÓN
INSTRUCCIONES DE CARGA
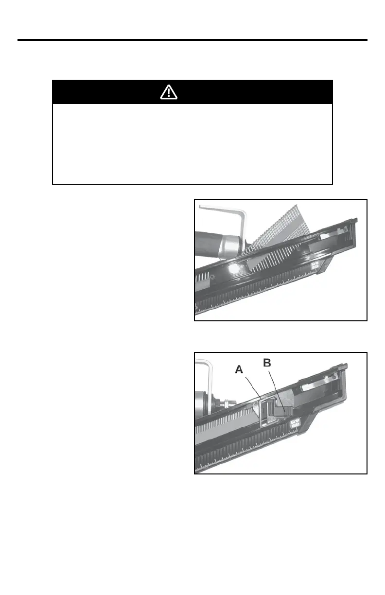
1. Sujete bien la herramienta
por el mango.
2. Introduzca la tira de clavos en la
parte SUPERIOR del cargador,
con las puntas de los clavos
apuntando en ángulo hacia
adelante y hacia abajo. Deslice
la tira de clavos hacia adelante.
3. Tire del empujador (A) hacia
la parte trasera del cargador,
detrás de la última tira de clavos.
4. Deslice el empujador hacia adelante
para enganchar la última tira de
clavos y suelte.
5. La herramienta está cargada ahora
y lista para la operacn normal.
DESCARGA DE CLAVOS
1. Tire del empujador hacia atrás,
presione completamente sobre
la palanca del empujador (B),
y después deslice el empujador
completamente hacia adelante,
hacia la parte delantera del cargador.
2. Suelte la palanca del empujador (B).
3. Deslice las tiras de clavos hacia la
parte trasera del cargador, y quite
los clavos de la cargadora.
30
CARGA DE SUJETADORES
PELIGRO
Se puede fijar por accidente un sujetador si el gatillo y el soporte
de seguridad se activan al mismo tiempo. Desconecte siempre la
herramienta del suministro de aire antes de cargar los sujetadores,
hacer ajustes o efectuar cualquier servicio en la herramienta. No ponga
el dedo en el gatillo hasta que no esté listo para fijar un sujetador.

Related product manuals