EasyManua.ls Logo

Grow R503 - Page 47

Grow R503
50 pages
Print Icon
To Next Page IconTo Next Page
To Next Page IconTo Next Page
To Previous Page IconTo Previous Page
To Previous Page IconTo Previous Page
Loading...
- 42 -
www.hzgrow.com
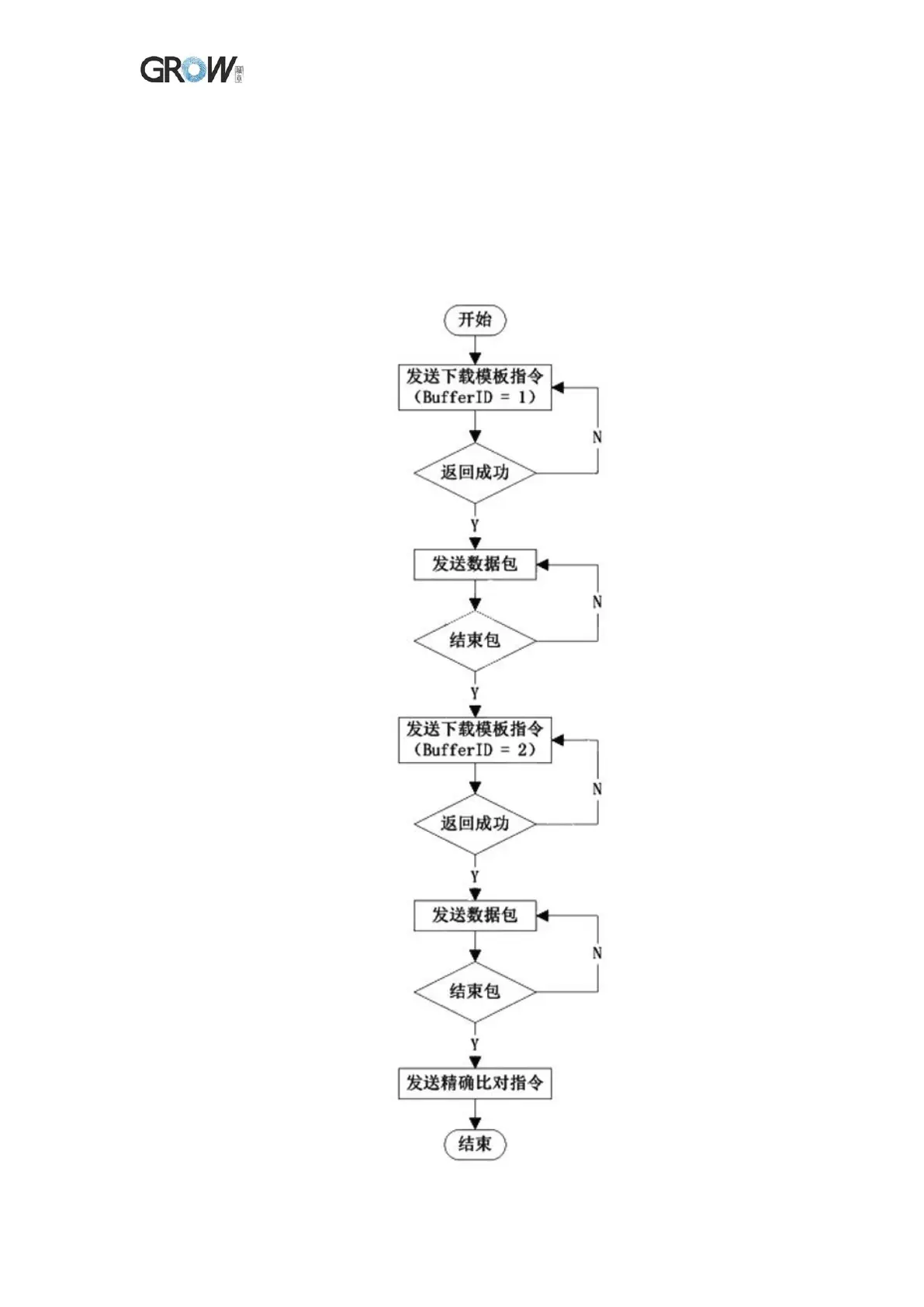
The main control downloads two fingerprint features or templates for accurate
comparison
The whole process mainly includes: download template and accurate comparison. The BufferID
needs to be set differently when download template two times.
Note that there is no special requirement for BufferID Settings when the exact comparison object is
two feature files or two feature templates. However, if the exact comparison object is one feature
file or one template, set BufferID to 1 when downloading the feature file, set to 2 when
downloading the template.
Start
Send download template command
Return successfully
Send data packet
Finish packet
Send download template command
Return successfully
Send data packet
Finish packet
Send accurate comparison command
Finish

Table of Contents