EasyManua.ls Logo

GRS GraverSmith 004-895 - Page 9

GRS GraverSmith 004-895
12 pages
Print Icon
To Next Page IconTo Next Page
To Next Page IconTo Next Page
To Previous Page IconTo Previous Page
To Previous Page IconTo Previous Page
Loading...
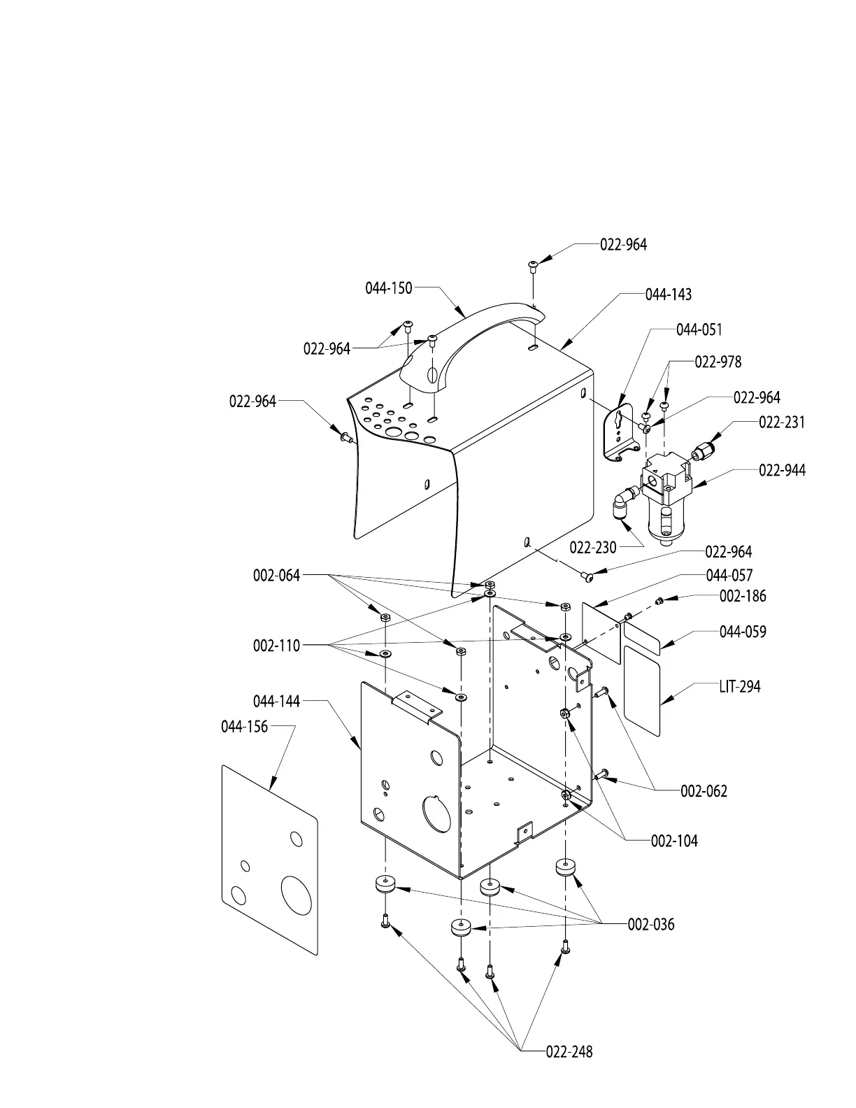
GraverSmith™ Cover Assembly Parts List
002-062 #8-32 x 1/2 Rhms
002-064 Nut, #8-32 hex Z/P
002-104 Nut #8-32 HEXKEP Z/P
002-110 Washer, #8 PLTD
002-186 Pop rivet
022-230 90° push to connect fitting
022-231 Push-in male connector
022-248 8-32 x 7/16 pan head screw
022-944 5-micron filter & bowl
022-964 10-32 x 0.375" button head socket head screw
022-978 4m x 0.7 metric screw Phillips head
023-052 Rubber mounting foot
044-051 Filter mount
044-057 24v electrical label
044-059 Decal to identify air inlet port & exhaust port
044-143 Cover panel for GraverSmith
044-144 Formed base for GraverSmith
044-150 Molded handle
044-156 GraverSmith front decal
LIT-294 Oil contamination notice