EasyManua.ls Logo

Haier 1U71S2SR1FA - Relocation Procedures; Maintenance Instructions

Haier 1U71S2SR1FA
80 pages
Print Icon
To Next Page IconTo Next Page
To Next Page IconTo Next Page
To Previous Page IconTo Previous Page
To Previous Page IconTo Previous Page
Loading...
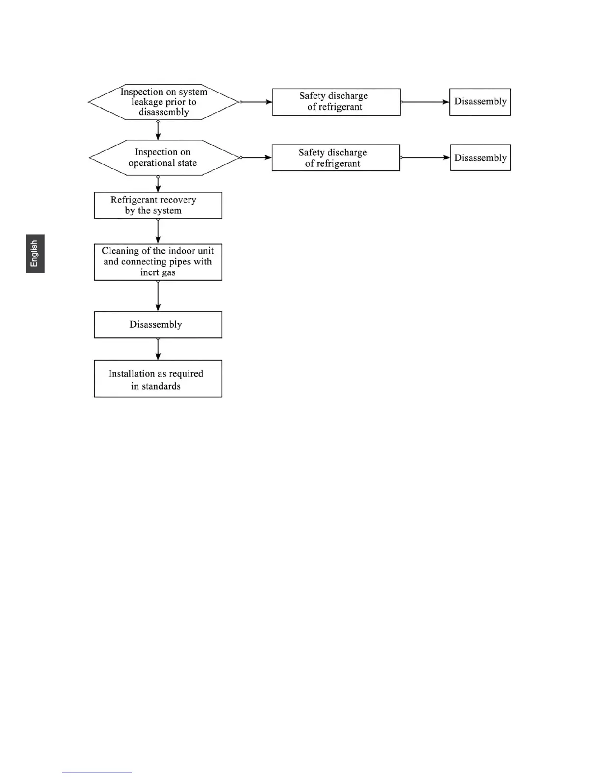
Relocation Procedures
Note: in case relocation is required, the joint of evaporator gas/liquid pipes of the indoor unit shall be cut off with
a cutting knife. Connection is only allowed after re-flaring (the same to the outdoor unit).
Maintenance Instructions
Maintenance Precautions
Precautions
For all the faults requiring welding the refrigeration pipelines or components inside the refrigeration system
of R32 refrigerant air conditioners, maintenance at the user’s site is never allowed.
For the faults requiring radical disassembly and bending operation of the heat exchanger, such as the
replacement of the outdoor unit chassis and integral disassembly of the condenser, inspection and maintenance at
the user’s site are never allowed.
For the faults requiring replacement of the compressor or parts & components of refrigeration system,
maintenance at the user’s site is not allowed.
For other faults not involved in the refrigerant container, internal refrigeration pipelines and refrigeration
elements, the maintenance at the user’s site is allowed, including the cleaning and dredging of the refrigeration
system requiring no disassembly of refrigeration elements and no welding.
In case replacement of gas/liquid pipes is required during maintenance, the joint of evaporator gas/liquid
pipes of the indoor unit shall be cut off with a cutting knife. Connection is only allowed after re-flaring (the same
to the outdoor unit).
Qualification Requirements of Maintenance Personnel
1. All the operators or the maintenance personnel involved in refrigerating circuits shall be provided with the
effective certificate issued by an industry-accepted assessment institute, to ensure that they are qualified for safety
disposal of refrigerant as required in the assessment regulations.
2. The equipment can only be maintained and repaired as per the method recommended by the manufacturer.
In case the assistance from personnel of other disciplines is required, the assistance shall be supervised by the
personnel with qualification certificate involved in flammable refrigerant.
7

Related product manuals