EasyManua.ls Logo

Hammond SK1 - Percussion Parameter Settings

Hammond SK1
158 pages
Print Icon
To Next Page IconTo Next Page
To Next Page IconTo Next Page
To Previous Page IconTo Previous Page
To Previous Page IconTo Previous Page
Loading...
*#1
Sk1
/
Sk2
Owners Manual
82
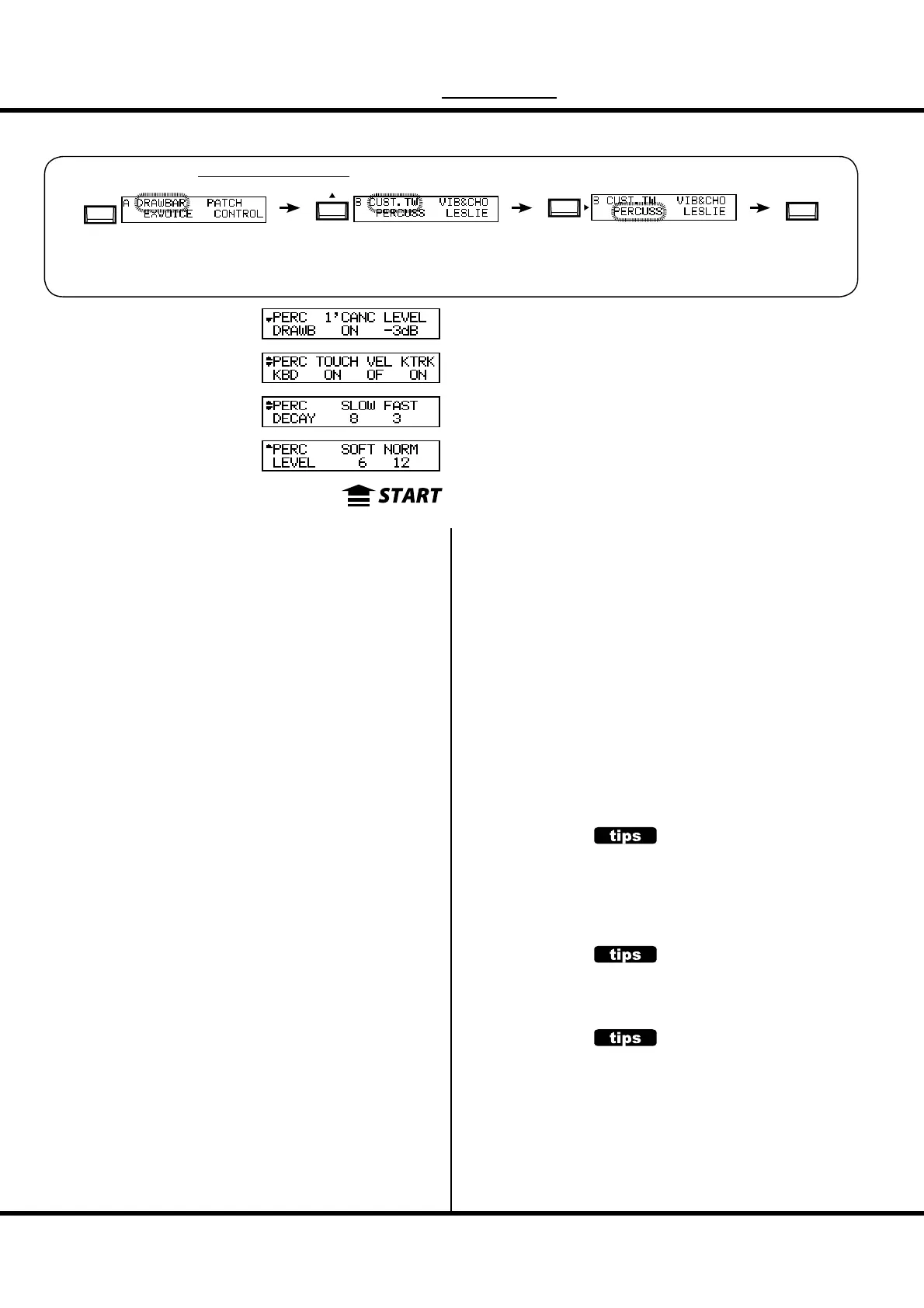
PERCUSS ( Percussion)
is mode is for setting the parameters of the percussion sounds.
To locate this mode:
LEVEL SOFT
LEVEL - NORMAL
Controls the percussion volume levels.  e Normal level is
set by the NORM setting, and SOFT is the level when the
[SOFT] button is ON.
DECAY - SLOW
DECAY - FAST
Controls the percussion decay time.  e Slow rate is set by
SLOW setting, and FAST is the time when the [FAST] button
is ON.
e setting range is 1 to 9 and C. As the value is raised, the
decay time grows longer. At C (continuous) there is no decay,
and the percussion sound is sustained while keys are pressed.
KEYBOARD - TOUCH
Sets the touch response of the percussion.
ON: Legato playing will result in the First note hit engaging the per-
cussion, and none after.
OFF: The envelopes reset with each key hit and percussion sounds on
every note.
KEYBOARD - VELOCITY
Links the percussion volume to velocity.
ON: A harder strike produces a louder percussion sound.
OFF: Regardless how hard you play, the volume remains the same.
KEYBOARD - KEY TRACK
Attenuates the percussion volume by keyboard position.
ON: The higher the note is, the lesser the volume.
OFF: no change in volume.
DRAWBAR - 1´ CANCEL
Mutes the UPPER 1´ Drawbar while using the percussion.
ON: Mute active
OFF: No mute.
DRAWBAR - LEVEL
Reduces the UPPER Drawbar volume while using the percus-
sion (except [SOFT] button is ON).
-5dB: Reduces the volume in similar response to the classic B-3/C-3.
-3dB: Slight reduction in volume.
0dB: Does not reduce the volume.
NOTE: All the parameters of these modes are patch parameters, and
are recorded to the respective patches.
TOUCH
The percussion generator on the vintage B-
3/C-3 had a single envelope, which would not
recycle until all keys were raised. Originally
thought to be a defect, the resulting response
became a desired trait.
1´ CANCEL
The B-3/C-3 had no exclusive key contact for
the percussion, but, used the 1´ contact. This
is simulated on this keyboard.
DRAWBAR LEVEL
When the percussion was activated on the
B-3/C-3, the volume of the Drawbars became
slightly softer in volume. This is simulated on
this keyboard.
or, keep pressing either of the [SECOND], [THIRD], [FAST], [SOFT] buttons
for a moment.
See “Function mode” (P. 68) for operation details.
MENU/
EXIT
ENTER
❸❹
❺❻❼
❽❾

Table of Contents

Other manuals for Hammond SK1

Related product manuals