EasyManua.ls Logo

Hantek HDM3000 - Capacitance

Hantek HDM3000
93 pages
To Next Page IconTo Next Page
To Next Page IconTo Next Page
To Previous Page IconTo Previous Page
To Previous Page IconTo Previous Page
Loading...
71
not grounding the input terminals. If the multimeter must be ground-based, connect it to a
common ground point with the device under test. If possible, also connect the multimeter
and the device under test to the same power outlet.
Precautions for resistance measurement
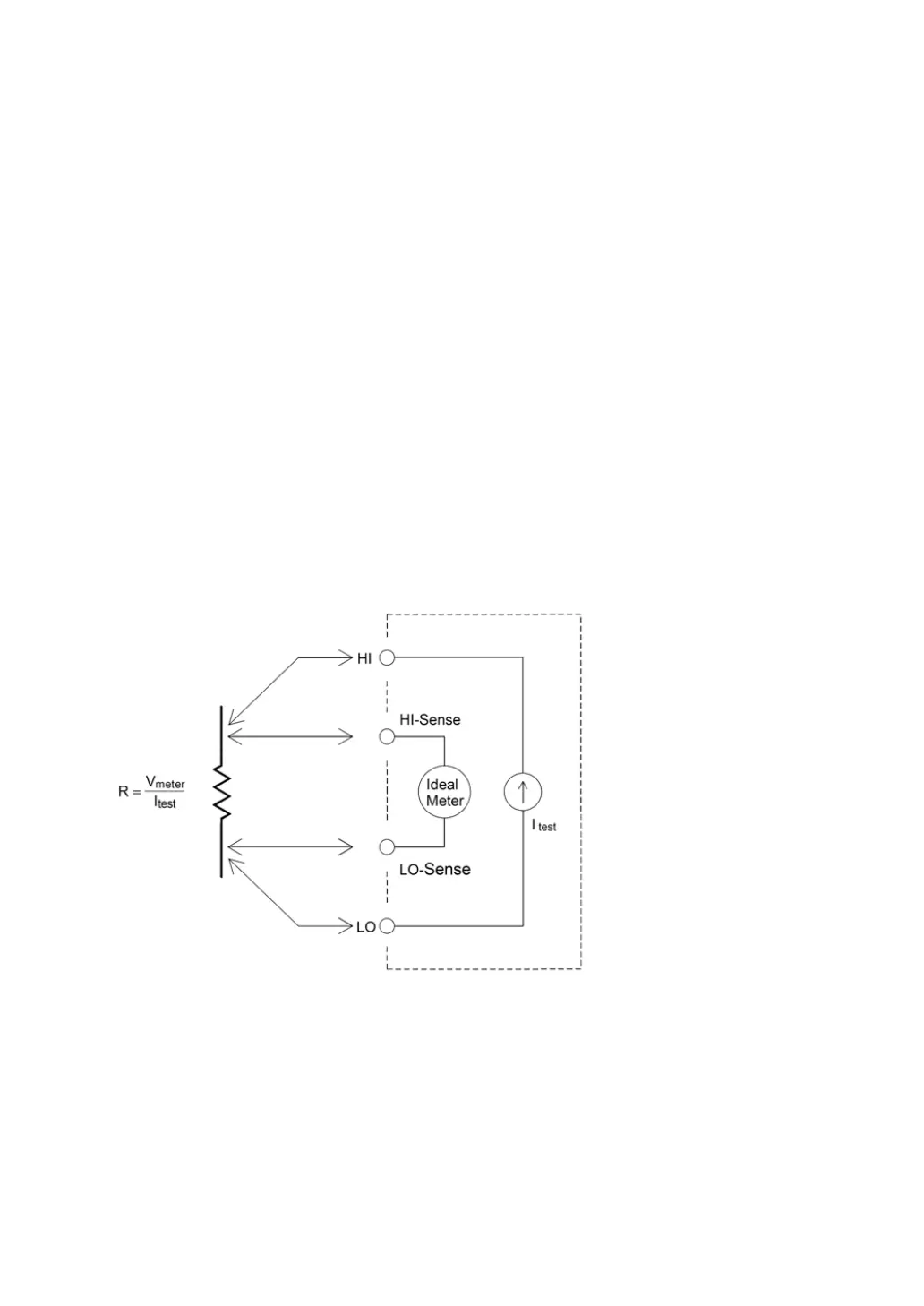
The multimeter provides two resistance measurements: 2-wire and 4-wire resistance
measurement. In both methods, the test current flows from the high end of the input to the
resistance under test. For 2-wire resistors, the voltage across the measured resistor will be
internally induced to the multimeter. Therefore, the resistance of the test lead is also
measured. For 4-wire resistors, separate "induction" connections are required. Since no
current flows through the induction leads, the resistance in these leads does not cause
measurement errors.
Measuring small resistances using the 4-wire method gives the most accurate results
because it reduces the resistance of the test leads and contacts. This method is usually
used to automated tests where there is impedance and/or a long cable, a large number of
connections or switches between the multimeter and the DUT. The recommended 4-wire
resistance measuring wiring is shown below.
Eliminate test lead resistance errors
To eliminate the offset error associated with the test lead resistance in the 2-wire
resistance measurement, follow these steps:
Short the two ends of the test lead together and then read the resistance of the test lead

Other manuals for Hantek HDM3000