EasyManua.ls Logo

Harvil EB-1 - Page 5

Harvil EB-1
10 pages
Print Icon
To Next Page IconTo Next Page
To Next Page IconTo Next Page
To Previous Page IconTo Previous Page
To Previous Page IconTo Previous Page
Loading...
ASSEMBLY INSTRUCTIONS
EB-1 5
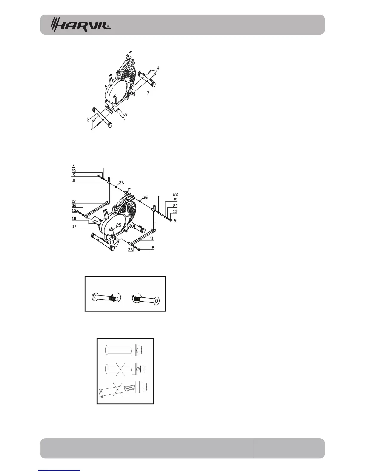
F IG .1
15L L E F T 15R R IG H T
F IG .2
FIG. 1:
Attach the Front Stabilizer (NO.7) and the
Rear Stabilizer (NO.2) with four sets of
Carriage Bolts (NO.4), washers (NO.6) and
Domed Nuts (NO.5).
N.B. The Front Stabilizer has the integral
transport wheels.
FIG. 2 :
Insert the Spindle Bar (No.22) through
the Right Lower Handlebar (No.9) and
through the main frame, and then,
through the arc washer (No.36) and the
Left Handlebar (No.10). Put a D-shape
Washer and a Spring Washer (No.20 & 21)
on either side of the Spindle Bar and
tighten both ends using the Hinge
Screws (No.19).
Then insert a Pedal Hinge Bolt (No.15)
and put the arc washer (No.36) through
the Pedal Post (No.11 for the right side,
No.12 for the left). Put a Spring Washer
(No.18) on the bolt, then pass it through
the Crank (No.25), and secure the bolt
with an M12 Nut (No.17). Repeat this
procedure for the left side.
C OR R E C T
INC O R R E C T
INC O R R E C T
In order to install the hinge bolt properly,
keep it perfectly straight as the bolt goes
through the pedal tubing and the crank-
shaft. If the hinge bolt is connected to
the crankshaft at an angle, damage to
both the hinge bolt and the crankshaft
may occur.

Related product manuals