EasyManua.ls Logo

Heraeus HS 15 - Page 268

Default Icon
282 pages
Print Icon
To Next Page IconTo Next Page
To Next Page IconTo Next Page
To Previous Page IconTo Previous Page
To Previous Page IconTo Previous Page
Loading...
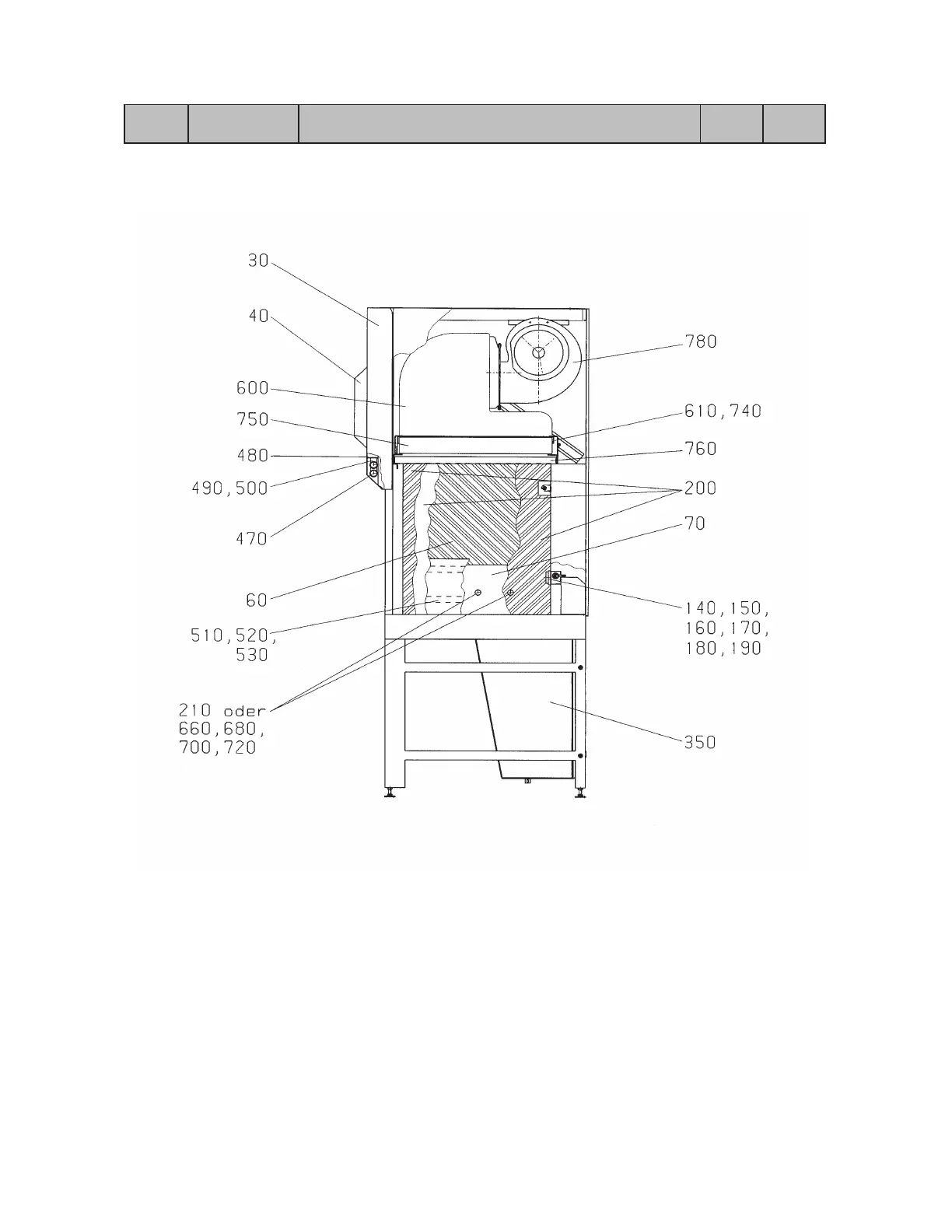
50068064 ERSATZTEILLISTE HERASAFE HS/HSP 2001
50068064 SPARE PARTS LIST HERASAFE HS/HSP 2001
Pos.-Nr. Bestell-Nr. Ersatzteil Menge Einheit
Pos. No. Order No. Spare Part Amount Unit
50068064 Ersatzteile HS_ EN12469_mitZg
Quelle / Source: SAP, 24.07.2001
6 / 10

Related product manuals