EasyManua.ls Logo

HIKVISION DS-2XE62 2F-IS Series - Page 20

HIKVISION DS-2XE62 2F-IS Series
24 pages
Print Icon
To Next Page IconTo Next Page
To Next Page IconTo Next Page
To Previous Page IconTo Previous Page
To Previous Page IconTo Previous Page
Loading...
Network Bullet Camera·Quick Start Guide
19
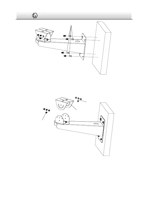
Expansion Screws
Figure 3-1 Install the Wall Mounting Bracket
2. Unscrew and remove the pedestal from the bracket.
Pedestal
Screws
Screws
Figure 3-2 Remove the Pedestal
3. Align the screw holes on the camera mounting base with those on
the pedestal, and fix the camera to the pedestal with the supplied
screws.

Related product manuals