EasyManua.ls Logo

Hisense HFE3501CPS - Page 21

Hisense HFE3501CPS
28 pages
Print Icon
To Next Page IconTo Next Page
To Next Page IconTo Next Page
To Previous Page IconTo Previous Page
To Previous Page IconTo Previous Page
Loading...
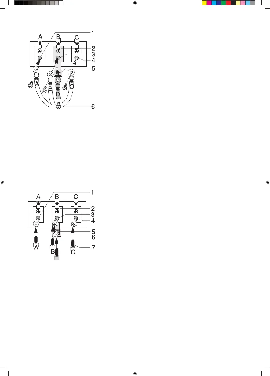
1. Tension 1
2. Sangle de masse
3. Borne neutre
4. Tension 2
5. Plaque de mise à la terre
6. Vis de mise à la terre
A. Noir
B. Blanc
C. Rouge
D. Vert
Retirer les 3 visinférieures du bornier.Ne pas desserrer les vissupérieures.
Retirer la vis de mise à la terre et la plaque de mise à la terre et les conserver.
Couper la sangle de masse sous le bornier et jeter la section inférieure.
Insérer la vis de mise à la terre à traverslanneau du fil de terre du cordon dalimentation, à travers
la plaque de mise à la terreet dans le cadre de la cuisinière. Serrer fermement, mais sans excès
(15 à 20 po-lb).
Insérer les 3 vis de borne à travers chaque anneau de borne du cordon dalimentation et de
nouveau dans le bornier. Sassurer que le fil blanc est au centre.
Bien serrer chaque vis (35 à 50 po-lb).
Raccordement du conduit à quatre fils
1. Tension 1
2. Sangle de masse
3. Borne neutre
4. Tension 2
5. Plaque de mise à la terre
6. Vis de mise à la terre
7. Extrémités des fils
A. Noir
B. Blanc
C. Rouge
D. Vert
Desserrer les 3 visdes bornes inférieures du bornier. Dénuderle fil pour dégager lextrémité denviron
0,953 cm (3/8 po).
Retirer et conserver la vis et la plaque de mise à la terre. Couper la sangle de masse sous le bornier
et jeter la sectioninférieure. Insérer la vis de mise à la terre à traversla plaque de mise à la terre
(précédemment retirée) et la remettre dans la borne.
Insérer la pointe du fil de terre dans la vis et la plaque de terre. Serrer fermement, mais sans excès
(15 à 20 po-lb).
Insérer lextrémité du fil central (blanc/neutre) dans louverture centrale inférieure du bornier. Sur
certains modèles, le fil devra être inséré à traverslouverture de la sangle de mise à la terre, puis
dans louverture du borniercentral inférieur. Insérerles deux extrémités des fils dénudéslatéraux
dans les ouvertures inférieures gauche et droite du bornier.
FR 21

Related product manuals