EasyManua.ls Logo

Hitachi C 10FR

Hitachi C 10FR
28 pages
To Next Page IconTo Next Page
To Next Page IconTo Next Page
To Previous Page IconTo Previous Page
To Previous Page IconTo Previous Page
Loading...
12
RIP FENCE (Fig. G)
1. Lift upward on the rip fence handle (1) so that the
holding clamp (2) is fully extended.
2. Place the rip fence on the saw table and engage the
holding clamp (2) to the table rear. Lower the front
end onto the front rail (3).
3. Push down on the fence handle (1) to lock.
Fig. G
2
3
1
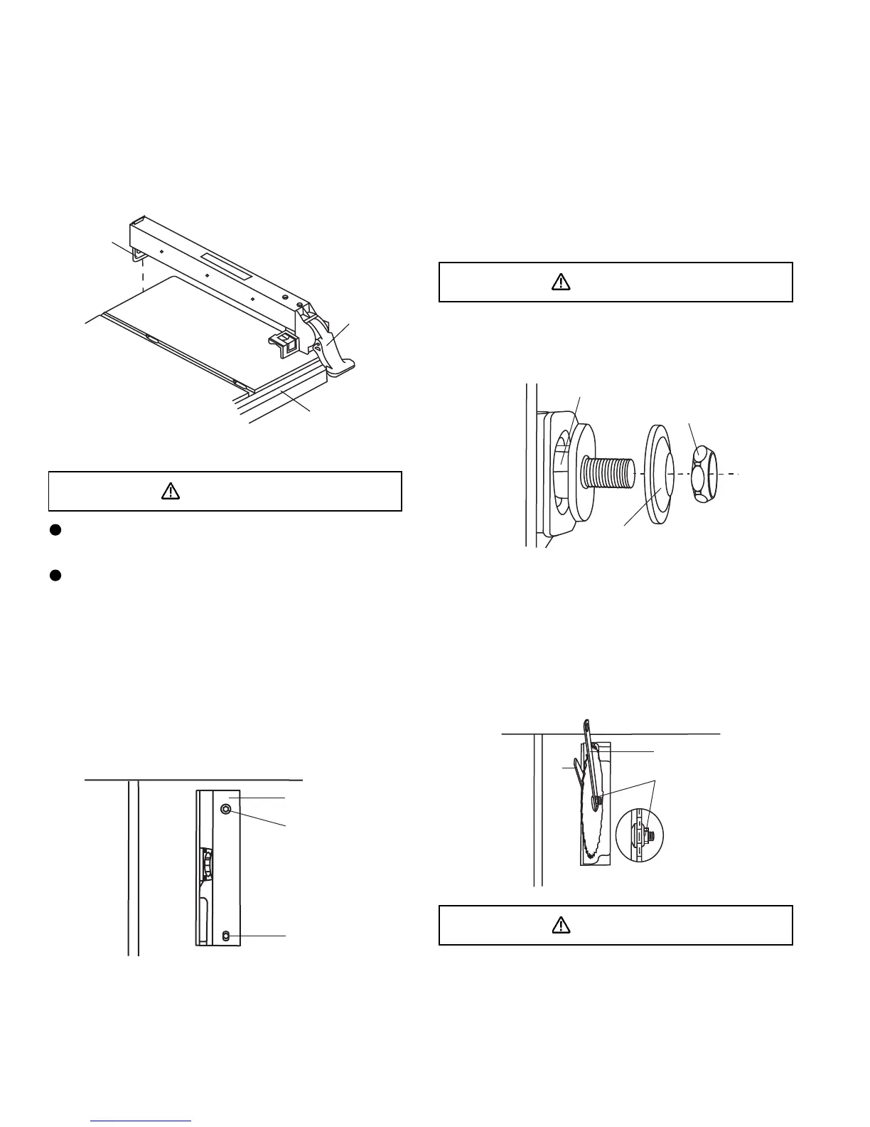
INSTALLING AND CHANGING THE BLADE (Fig. H, I, J)
WARNING
To avoid injury from an accidental start, make sure the
switch is in the OFF position and the plug is not
connected to the power source outlet.
To avoid serious injury, table insert must be level with
the table. If the table insert is not level with the table,
adjust the screw (3) until it is level with the table. To
raise the insert, turn the screw counterclockwise, to
lower the insert, turn the screw clockwise.
1. Remove the table insert (1) by unscrewing the two
screws (2, 3). Be careful not to lose the rubber washer
that is on the back screw (3) beneath the table insert.
(Fig. H)
Fig. H
1
3
2
2. Raise the blade arbor (4) (Fig. G) to the maximum
height by turning the blade raising handwheel
counterclockwise.
3. Place the open-end wrench jaws on the flats of the
saw arbor to keep the arbor from turning. (Fig. H) and
place the box-end wrench (8) on the arbor nut (5), and
turn anti-clockwise.
4. Remove the arbor nut (5) and flange (6), remove
blade.
5. Install the saw blade onto the arbor with the blade
teeth pointing toward the front of the saw.
6. Install the flange (6) against the blade and thread the
arbor nut (5) as far as possible by hand. Ensure that
the blade is flush against the inner side of the blade
flange.
WARNING
To avoid possible injury and damage to the workpiece be
sure to install the blade with the teeth pointing toward the
front of table in the direction of the rotation arrow on the
blade guard.
Fig. I
4
6
5
7. To tighten the arbor nut (5) place the open-end
wrench jaws on the flats of the saw arbor to keep the
arbor from turning. (Fig. J)
8. Place the box-end wrench (8) on the arbor nut (5), and
turn clockwise (to the rear of the saw table).
9. Replace the blade insert in the table recess, insert the
screws through the front and rear holes and tighten.
Fig. J
WARNING
To avoid injury from a thrown workpiece, blade parts, or
blade contact, never operate saw without the proper insert
in place. Use the saw blade insert when sawing. Use the
dado head insert when using a dado.
5
8
7

Other manuals for Hitachi C 10FR

Related product manuals