EasyManua.ls Logo

Hitachi C 12RSH

Hitachi C 12RSH
136 pages
To Next Page IconTo Next Page
To Next Page IconTo Next Page
To Previous Page IconTo Previous Page
To Previous Page IconTo Previous Page
Loading...
English
28
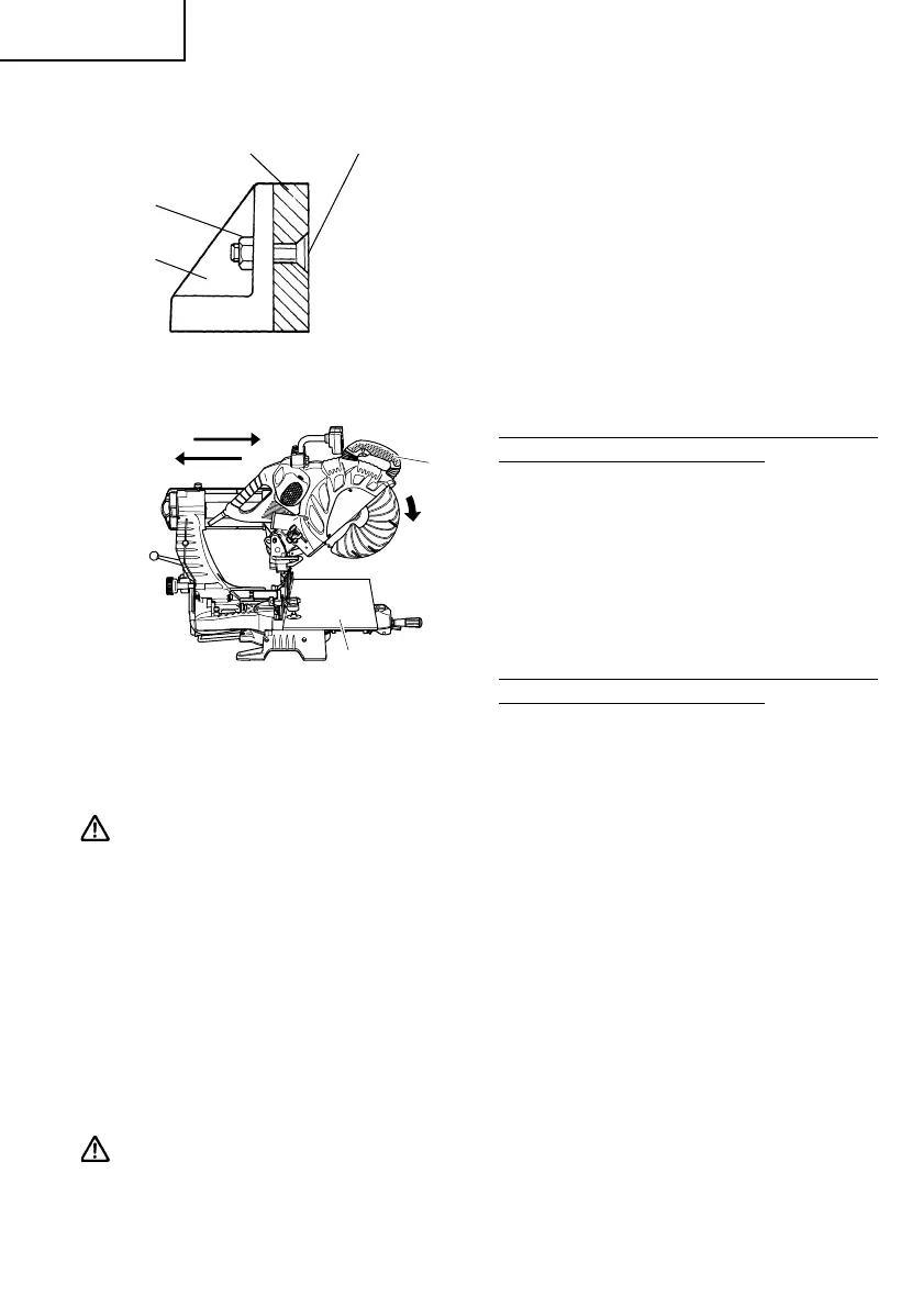
5. Cutting large workpieces
There may be case when a complete cutting
cannot be done depending on the height of
workpiece. In this case, mount an auxiliary
board with the 6 mm flat head screws and the
6 mm nuts using the 7 mm holes on the fence
surface (two holes on each side). (Fig. 28)
Refer to page 12 "SPECIFICATIONS" for the
thickness of the auxiliry board.
6. Cutting wide workpieces (Slide cutting)
(1) Workpieces up to 4-3/16" (107 mm) high
and 12-1/4" (312 mm) wide:
Loosen the slide securing knob (A) (see
Fig. 2), grip the handle and slide the saw
blade forward.
Then press down on the handle and slide
the saw blade back to cut the workpiece as
indicated in Fig. 29. This facilitates cutting
of workpieces of up to 4-3/16" (107 mm) in
height and 12-1/4" (312 mm) in width.
(2) Workpieces up to 4-11/16" (120 mm) high
and 10-3/16" (260 mm) wide:
Workpieces of up to 4-11/16" (120 mm) in
height and up to 10-3/16" (260 mm) in
width can be cut in the same manner as
described in paragraph 6-(1) above.
CAUTION: *When cutting a workpiece of 4-3/4" (120 mm) height, adjust the lower
limit position of the motor head so that the gap between the lower
edge of the motor head and the workpiece will be 5/64" to 1/8" (2 to
3 mm) at the lower limit position.
* If the handle is pressed down with excessive or lateral force, the saw
blade may vibrate during the cutting operation and cause unwanted
cutting marks on the workpiece, thus reducing the quality of the cut.
Accordingly, press the handle down gently and carefully.
* In slide cutting, gently push the handle back (rearwards) in a single,
smooth operation.
Stopping the handle movement during the cut will cause unwanted
cutting marks on the workpiece.
WARNING: * For slide cutting, follow the procedures indicated above in Fig. 29.
Forward slide cutting (toward the operator) is very dangerous
because the saw blade could kick upward from the workpiece.
Therefore, always slide the handle away from the operator.
Handle
Workpiece
Fig. 29
2 Press
down
3 Push rearward
to cut
1 Pull forward
Fig. 28
Fence
6 mm nut
6 mm flad hd.
screw
Auxiliary
board

Table of Contents

Other manuals for Hitachi C 12RSH

Related product manuals