EasyManua.ls Logo

Hitachi DH 30PC - Operating Modes and Techniques; Switch Operation and Modes

Hitachi DH 30PC
76 pages
Print Icon
To Next Page IconTo Next Page
To Next Page IconTo Next Page
To Previous Page IconTo Previous Page
To Previous Page IconTo Previous Page
Loading...
13
English
Part of SDS-plus
shank
Front Cap
Grip
Drill
Chuck
Chuck
Adaptor
Fig. 7
Change
Lever
Push Button
Change
Lever
Push
Button
Fig. 5
Fig. 6
Fig. 8
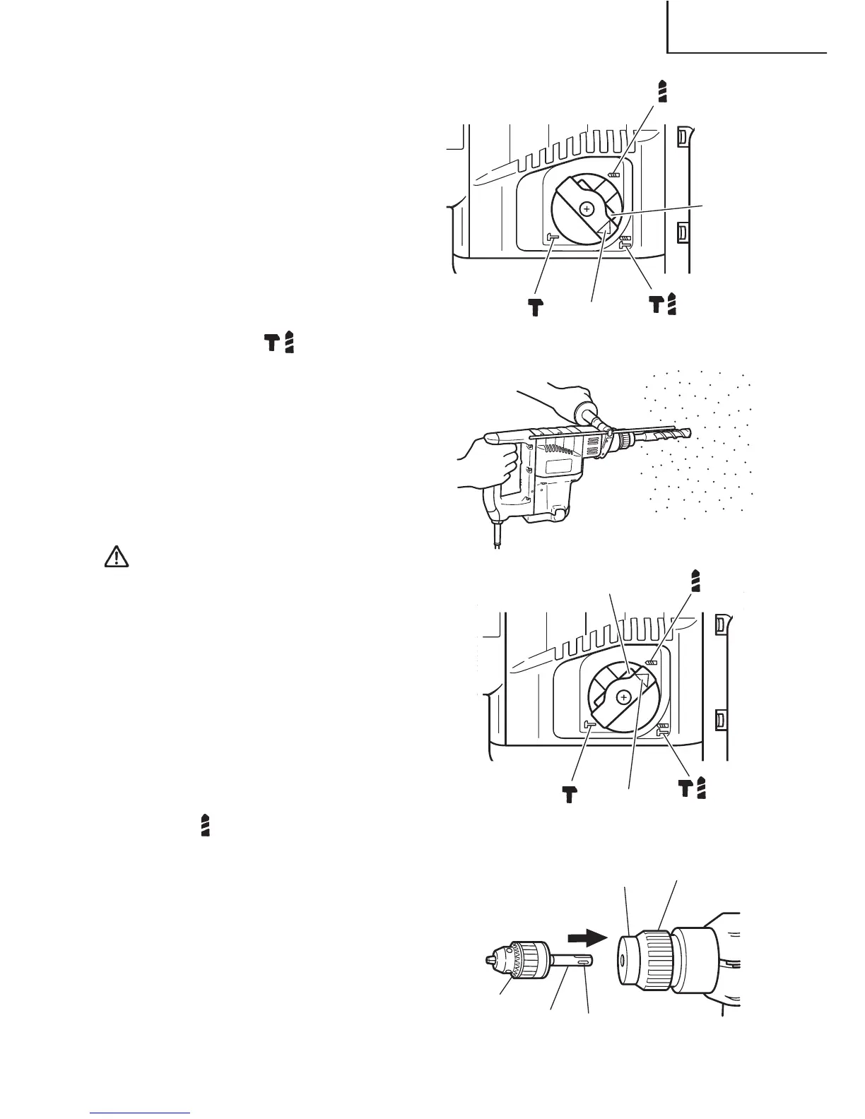
1. Switch operation
The rotation speed of the drill bit can
be controlled steplessly by varying the
amount that the trigger switch is
pulled. Speed is low when the trigger
switch is pulled slightly and increases
as the switch is pulled more.
2. Rotation + Striking
This rotary hammer can be set to
rotation and striking mode by pressing
the push button and turning the
change lever to
mark. (Fig. 5)
(1) Mount the drill bit.
(2) Pull the trigger switch after applying
the drill bit tip to the drilling position
(Fig. 6)
(3) Pushing the rotary hammer forcibly is
not necessary at all. Pushing slightly
so that drill dust comes out gradually
is just sufficient.
CAUTION:
When the drill bit touches an iron
reinforcing rod, the bit will stop
immediately and the rotary hammer
will react to revolve. Therefore please
grip the side handle and handle tightly
as shown in Fig. 6.
3. Rotation only
This rotary hammer can be set to
rotation only mode by pressing the
push button and turning the change
lever to
mark. (Fig. 7)
To drill a wood or metal material using
the separately sold drill chuck and
chuck adaptor, proceed as follows.
Installing drill chuck and chuck adaptor
(Fig. 8):
(1) Mount the drill chuck to the chuck
adaptor.
(2) The part of the SDS-plus shank is the
same as the drill bit. Therefore, refer
to the item of “Mounting the drill bit”
for attaching it.

Other manuals for Hitachi DH 30PC

Related product manuals