EasyManua.ls Logo

Hitachi E100 - Mohíaühaü CXEMA

Hitachi E100
60 pages
Print Icon
To Next Page IconTo Next Page
To Next Page IconTo Next Page
To Previous Page IconTo Previous Page
To Previous Page IconTo Previous Page
Loading...
PyccÍËÈ
57
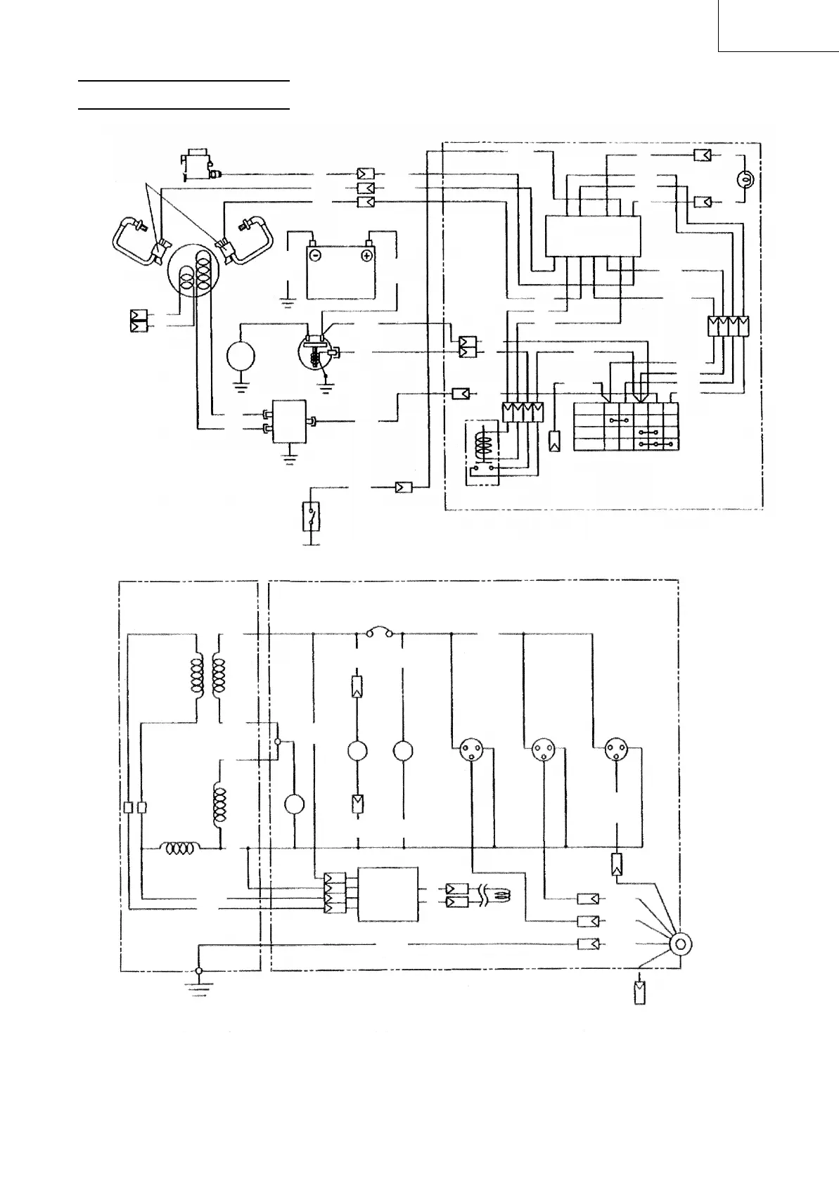
MOHíAÜHAü CXEMA
E100
éÚÒ˜͇ ÚÓÔÎË‚‡
ä‡Úۯ͇ Á‡ÊË„‡ÌËfl
á‡fl‰Ì‡fl
Ó·ÏÓÚ͇
é·ÏÓÚ͇
‚ÓÁ·ÛʉÂÌËfl
(AVR)
Blk
Blk
ùÎÂÍÚÓÒÚ‡ÚÂ
ùÎÂÍÚÓχ„ÌËÚÌ˚È
‚˚Íβ˜‡ÚÂθ
ÄÍÍÛÏÛÎflÚÓ
12 Ç
R
Org
Åãéä ìèêÄÇãÖçàü
R
Blk/W
Blk
R/W
Blk/W
Grn
ê„ÛÎflÚÓ
Gry
êÂΠ‰‡‚ÎÂÌËfl
χÒ·
LGrn
123 456
ùÎÂÍÚÓÌÌ˚È ·ÎÓÍ ÛÔ‡‚ÎÂÌËfl
13 12 11 10 9 8 7
W
Grn
Gry
W
W
W
ã‡ÏÔ‡ Ò˄̇ÎËÁ‡ˆËË
ÔÓÌËÊÂÌËfl ‰‡‚ÎÂÌËfl
χÒ· (Í‡Ò̇fl)
Blk
Y
Brn
Org
R
Org
Grn/Y
LBlu
èÛÒÍÓ‚ÓÂ ÂÎÂ
ä Á‡ÊËÏÛ
Á‡ÁÂÏÎÂÌËfl
äβ˜
Á‡ÊË„‡ÌËfl
Org
Grn/Y
Grn/Y
Org
Grn
Gry
-M +M B L-IG ST
Ç˚ÍÎ.
ÇÍÎ.
èÛÒÍ
Y
Y
Blk15
R15
Blk : óÂÌ˚È
Blk/W : óÂÌÓ-·ÂÎ˚ÈÂ
Brn : äÓ˘Ì‚˚È
Blu : CËÌËÈ
Grn : áÂÎÂÌ˚È
Grn/Y : ÜÂÎÚÓ-ÁÂÎÂÌ˚È
Gry : CÂ˚È
LBlu : C‚ÂÚÎÓ-ÒËÌËÈ
LGrn : C‚ÂÚÎÓ-ÁÂÎÂÌ˚È
Org : O‡ÌÊ‚˚È
R:K‡ÒÌ˚È
R/W : K‡ÒÌÓ-·ÂÎ˚È
Y:ÜÂÎÚ˚È
W:ÅÂÎ˚È
ñ‚ÂÚÓ‚‡fl ÍÓ‰Ëӂ͇ ÔÓ‚Ó‰Ó‚
Grn/Y
Grn/Y
Grn/Y
á‡ÊËÏ
Á‡ÁÂÏÎÂÌËfl
ä Íβ˜Û Á‡ÊË„‡ÌËfl
Grn/Y
Åãéä ìèêÄÇãÖçàü
ÉÖçÖêÄíéê
Blk
Blk
Blk
Blk
Grn/Y
APH
LGrn
Brn
REC1
REC2
REC3
Ç˚ıÓ‰ÌÓÈ
‡Á˙ÂÏ
ÔÂÂÏ. ÚÓ͇
Ç˚ıÓ‰ÌÓÈ
‡Á˙ÂÏ
ÔÂÂÏ. ÚÓ͇
Ç˚ıÓ‰ÌÓÈ
‡Á˙ÂÏ
ÔÂÂÏ. ÚÓ͇
Blk
Blu
R
é·ÏÓÚ͇
‚ÓÁ·ÛʉÂÌËfl
ôÂÚ͇ (+)
ôÂÚ͇ (–)
ÇÒÔÓÏÓ„.
Ó·ÏÓÚ͇
é·ÏÓÚ͇ ÔÂ.
ÚÓ͇ 1
é·ÏÓÚ͇ ÔÂ.
ÚÓ͇ 2
ë˜ÂÚ˜ËÍ ÓÚ‡·Ó Ú‡ÌÌ˚ı ˜‡ÒÓ‚
ÇÓθÚÏÂÚ
äÓÌ„Óθ̇fl ·ÏÔ‡
é·ÏÓÚ͇
‚ÓÁ·ÛʉÂÌËfl
т˄‡ÚÂθ
W
W
Ä‚ÚÓχÚ˘ÂÒÍËÈ ‚˚Íβ˜‡ÚÂθ
PL
V
Hr
Y
Y
W
04_E100_Rus_p46-58.p65 08/5/13, 18:1857

Related product manuals