EasyManua.ls Logo

Hitachi E100 - Wiring Diagram

Hitachi E100
60 pages
Print Icon
To Next Page IconTo Next Page
To Next Page IconTo Next Page
To Previous Page IconTo Previous Page
To Previous Page IconTo Previous Page
Loading...
English
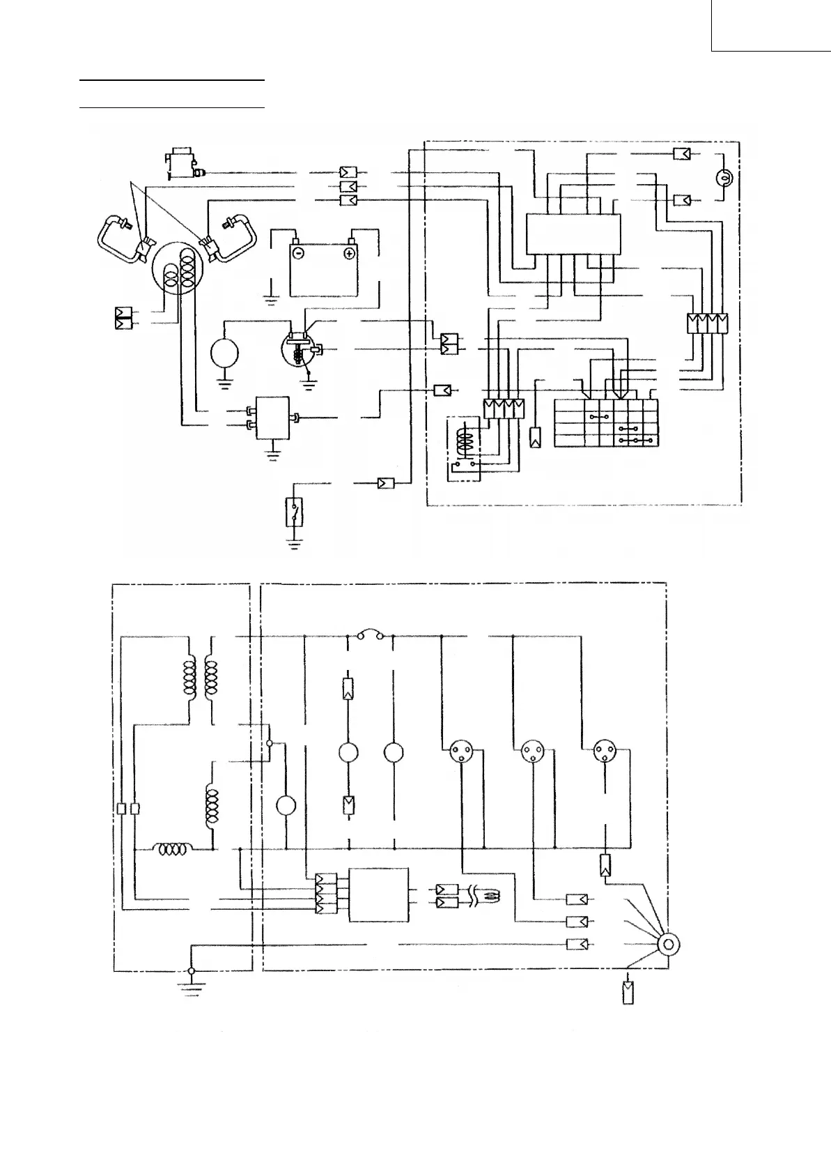
29
Grn/Y
Grn/Y
Grn/Y
Earth (Ground)
terminal
to Key switch -M
Grn/Y
CONTROL BOX
GENERATOR
Blk
Blk
Blk
Blk
Grn/Y
AVR
LGrn
Brn
REC1
REC2
REC3
AC output
receptacle
AC output
receptacle
AC output
receptacle
Blk
Blu
R
Field
Winding
Brush (+)
Brush (–)
Auxiliary Winding
AC Winding 1
AC Winding 2
Hour meter
Voltmeter
Pilot lamp
Exciting coil
(Engine)
W
W
No-fuse breaker
W
Y
Y
PLV
Hr
WIRING DIAGRAM
E100
Fuel cut
Ignition coil
Charge
coil
Exciting coil
(AVR)
Blk
Blk
Electric
starter
Magnetic
switch
Battery 12V
R
Org
CONTROL BOX
R
Blk/W
Blk
R/W
Blk/W
Grn
Regulator
Gry
Oil pressure
switch
LGrn
123 456
Electronic control unit
13 12 11 10 9 8 7
W
Grn
Gry
W
W
W
Oil pressure
warning lamp
(Red)
Blk
Y
Brn
Org
R
Org
Grn/Y
LBlu
ST Relay
to earth
terminal
Key
switch
Org
Grn/Y
Grn/Y
Org
Grn
Gry
-M +M B L-IG ST
OFF
ON
START
Y
Y
Blk15
R15
Wiring color cord
Blk : Black
Blk/W: Black/White
Brn : Brown
Blu : Blue
Grn : Green
Grn/Y: Green/Yellow
Gry : Gray
LBlu : Light blue
LGrn : Light green
Org : Orange
R:Red
R/W : Red/White
Y:Yellow
W:White
02_E100_Eng_p18-30.p65 08/5/13, 17:3929

Related product manuals