EasyManua.ls Logo

Hitachi RAS-5FS3 - Picking up Signals from Outdoor Unit Printed Circuit Board

Hitachi RAS-5FS3
384 pages
Print Icon
To Next Page IconTo Next Page
To Next Page IconTo Next Page
To Previous Page IconTo Previous Page
To Previous Page IconTo Previous Page
Loading...
4-33
OPTIONAL FUNCTION
(4.3 Outdoor Unit)
4.3.11 Picking Up Signals from Outdoor Unit Printed Circuit Board
The setting function of input terminal are shown to the item 4.3 “Outdoor Unit”.
The parts applied to picking up operation signals are shown in Table 4.7.
Table 4.7 Main Required Part
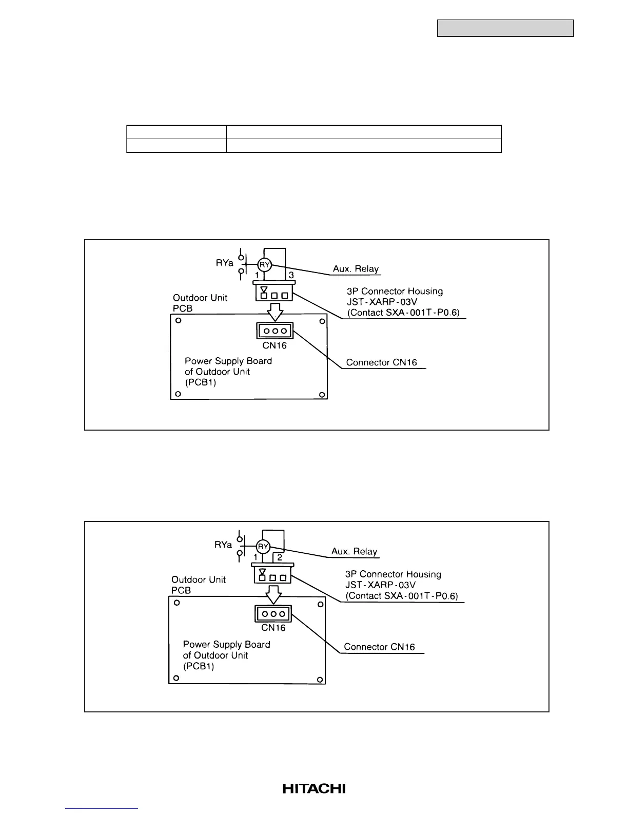
(1) Picking Up Alarm Signal
With this procedure the indoor unit alarm signals can be picked up. The method is explained in the
figure below. The required part is indicated in Table 4.7. Connecting relay contactors (RYa) are
closed at the time of alarm. (When either one of the units issues an alarm, an alarm signal is
indicated.)
(2) Picking Up Operation Signal
With this procedure the operation signal of cooling or heating can be picked up. The method for
picking up the signal is explained in the figure below. The required part is the same as in Table 4.7.
Connecting relay contactors RYa are closed at the time of cooling or heating. These signals can be
applied to the operation of circulators and humidifiers.
Picking Up Alarm Signal
Picking Up Operation Signal
Part Name Manufacturer etc.
Auxiliary Relay OMRON High Power Relay Model: LY2F DC12V

Table of Contents

Related product manuals