EasyManua.ls Logo

Hofmann Megaplan megamount 601 - Page 51

Hofmann Megaplan megamount 601
56 pages
Print Icon
To Next Page IconTo Next Page
To Next Page IconTo Next Page
To Previous Page IconTo Previous Page
To Previous Page IconTo Previous Page
Loading...
51
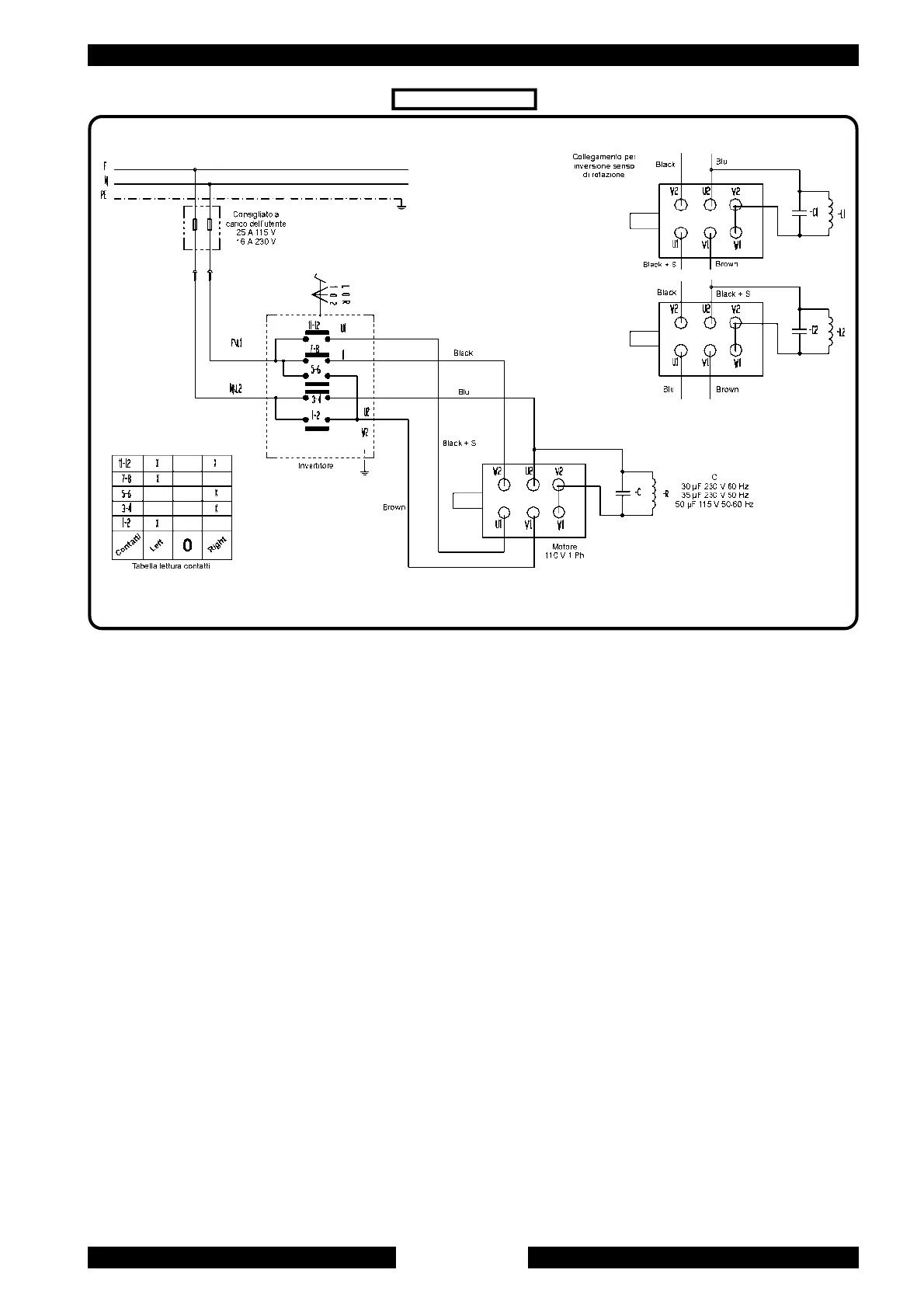
110V - 1PH

Related product manuals