EasyManua.ls Logo

Hofmann Megaplan megamount 601 - Page 53

Hofmann Megaplan megamount 601
56 pages
Print Icon
To Next Page IconTo Next Page
To Next Page IconTo Next Page
To Previous Page IconTo Previous Page
To Previous Page IconTo Previous Page
Loading...
53
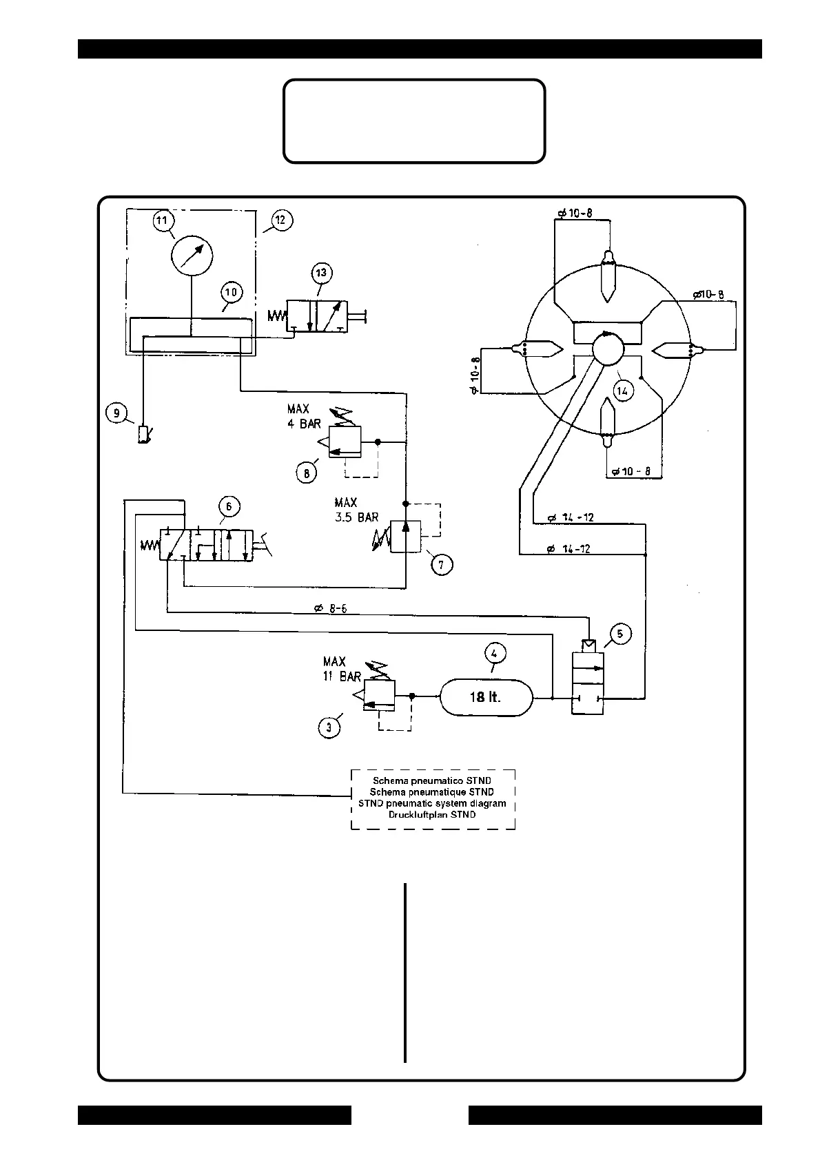
SCHEMA PNEUMATICO GT
GT PNEUMATIC SYSTEM DIAGRAM
3. Safety valve
4. Tank
5. Setting solenoid valve
6. GT pedal valve
7. Pressure regulator
8. Safety valve
9. Inflating head
10. Divider
11. Pressure gauge
12. Inflating unit
13. Deflating valve
14. Rotating union
3. Valvola di sicurezza
4. Serbatoio aria
5. Valvola di intallonamento
6. Valvola pedale GT
7. Regolatore di pressione
8. Valvola di sicurezza
9. Testina di gonfiaggio
10. Ripartitore
11. Manometro
12. Unità di gonfiaggio
13. Valvola di sgonfiaggio
14. Raccordo girevole

Related product manuals