EasyManua.ls Logo

Honeywell C7046C - Page 4

Honeywell C7046C
36 pages
Print Icon
To Next Page IconTo Next Page
To Next Page IconTo Next Page
To Previous Page IconTo Previous Page
To Previous Page IconTo Previous Page
Loading...
SOLID STATE ECONOMIZER SYSTEM
63-2484—03 4
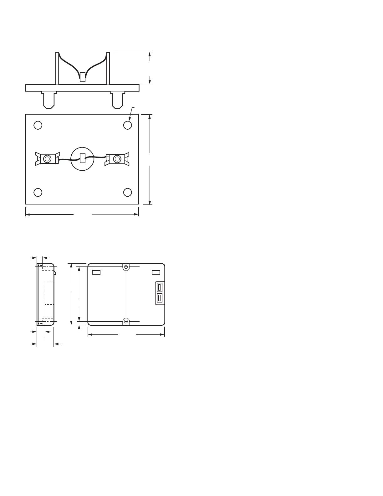
Fig. 2. Approximate dimensions of C7150B Mixed/
Discharge Air Sensor in in. (mm).
Fig. 3. Approximate dimensions of C7400 Solid State
Enthalpy Sensor/C7660 Solid State Temperature Sensor
in in. (mm).
M7415A, M8405A Damper Actuators
Provides control of economizer systems on HVAC equipment.
Actuator Rotation:
Closed position is the limit of clockwise rotation; open position
is the limit of counterclockwise rotation as viewed from the
shaft end of the motor.
Auxiliary Switch Rating (M8405A only):
24 Vac, 20 VA inrush, 20 VA run.
Terminal Connections:
1/4 in. (6 mm) male quick connect terminals mounted on
actuator. Terminal arrangement is dependent on actuator
model.
Ambient Operating Temperature Range:
-40°F to +125°F (-40°C to +52°C).
Voltage and Timing:
See Table 1.
Dimensions:
See Fig. 4.
Shaft:
Single-ended drive shaft with crank arm supplied.
Flammability Rating:
Underwriters Laboratories Inc. UL94-5V.
Approval:
Underwriters Laboratories Inc. Component Recognized: File
No. E4436, Guide No. XAPX2, Vol. 9, Section 1, 7-25-83.
SPECIFICATIONS: M7215
Models: ML7215: 25 lb-in. (2.8 Nm) torque, foot-mounted
spring-return damper motor with 2-10 Vdc feedback signal.
Accepts 2-10 Vdc control signal.
Dimensions: See Fig. 4.
Electrical Ratings:
Supply Voltage: 24 ±6 Vac 50/60 Hz.
Power Consumption: 24 Vac, 60 Hz: 8.7 VA. 24 Vac, 50 Hz:
8.4 VA.
Torque:
Lift and Hold: 25 lb-in. (2.8 Nm). Spring Return: 25 lb-in.
(2.8 Nm). Breakaway: 40 lb-in. (4.5 Nm).
IMPORTANT
Never use motor continuously at the breakaway
torque rating.
NOTE: Breakaway torque available to overcome occasional
large loads such as a seized damper.
Stroke:
Travel: 90°.
Timing:
Driving: 86 ±5 seconds.
Spring Return: 13 ±5 seconds.
Motor Rotation (Viewed From Shaft End):
Closed Position: Limit of clockwise rotation.
Open Position: Limit of counterclockwise rotation.
Crank Arm Rotation Limits: See Fig. 8.
Shipped with shaft in closed position.
Ambient Ratings:
Temperature:
Operating: -25°F to +125°F (-32°C to +52°C).
Storage: -30°F to +150°F (-34°C to +66°C).
Humidity: 5 to 95 percent RH, noncondensing.
3/16 (5) DIAMETER
2-1/2 (64)
2
(51)
3/4
(19)
M9084
M9096
S
+
9/16
(14)
3-7/8 (96)
5/16 (8)
3-5/32
(80)
2-3/4
(70)
1 (25)
7/32
(6)

Other manuals for Honeywell C7046C

Related product manuals