EasyManua.ls Logo

Honeywell Le Sucre - Page 113

Honeywell Le Sucre
316 pages
Print Icon
To Next Page IconTo Next Page
To Next Page IconTo Next Page
To Previous Page IconTo Previous Page
To Previous Page IconTo Previous Page
Loading...
9
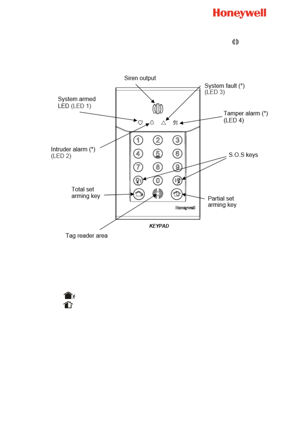
Il tastierino è dotato di un lettore TAG di prossimità, situato di fianco al simbolo ; il
tastierino include inoltre una sirena integrata come deterrente e 4 LED per informare l’utente
dello stato del sistema.
Inserimento mediante codice o TAG
Premere un tasto di inserimento sul tastierino e inserire il codice o presentare un TAG
registrato.
Attivazione totale
Attivazione parziale
Il tastierino emetterà il tono di inserimento seguito dai bip del ritardo di uscita.
L’inserimento nella zona viene completato automaticamente al termine del ritardo di
uscita.
Nota:
Assicurarsi sempre che la richiesta di inserimento totale sia seguita dal relativo tono
di inserimento.
Disinserimento mediante codice o TAG
Per disinserire il sistema:
Inserire un codice valido o presentare un TAG registrato.

Table of Contents

Other manuals for Honeywell Le Sucre

Related product manuals