EasyManua.ls Logo

Honeywell Le Sucre - Page 140

Honeywell Le Sucre
316 pages
Print Icon
To Next Page IconTo Next Page
To Next Page IconTo Next Page
To Previous Page IconTo Previous Page
To Previous Page IconTo Previous Page
Loading...
9
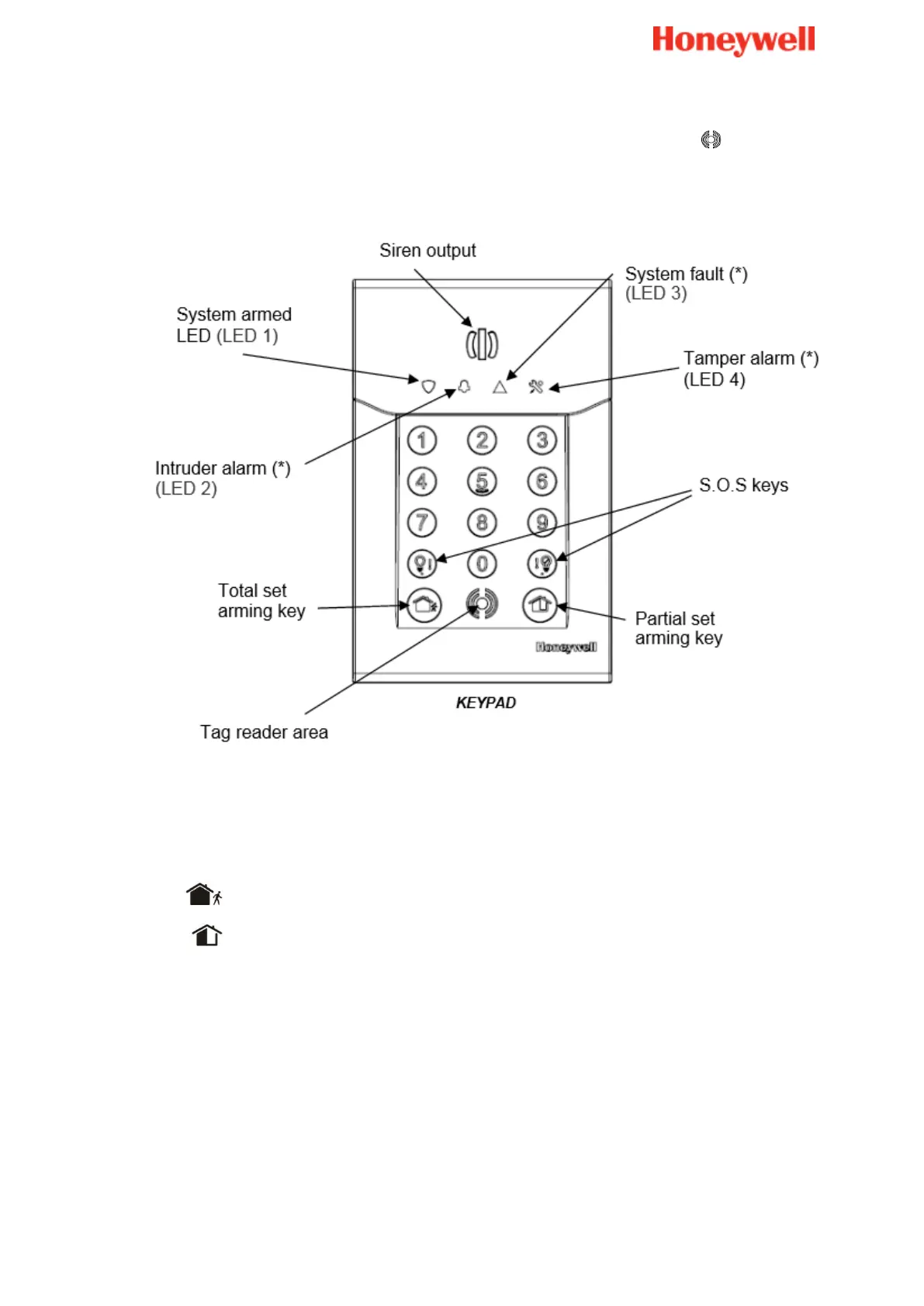
Het bediendeel is uitgerust met een proximity badge-lezer, naast het symbool ; daarnaast
bevat het bediendeel een ingebouwde sirene als afschrikmiddel en 4 ledlampjes die
informatie over de systeemstatus geven.
Het systeem inschakelen met uw code of badge
Druk op een inschakeltoets op het bediendeel en voer de code in of houd een
geregistreerde badge voor het bediendeel.
Schakelt 'Volledig ingeschakeld in
Schakelt 'Gedeeltelijk ingescahekdl' in
De inschakeltoon is hoorbaar vanaf het bediendeel gevolgd door de piepjes van de
uitgangsvertraging.
De inschakeling van de zone wordt aan het einde van de uitgangsvertraging automatisch
voltooid.
Opmerking:
Als u volledige inschakeling instelt, controleer dan altijd of dit wordt gevolgd door de
vergrendelingstoon.
Het systeem uitschakelen met uw code of badge
Uw systeem uitschakelen:
Voer een geldige code in of houd een geregistreerde badge voor het bediendeel.

Table of Contents

Other manuals for Honeywell Le Sucre

Related product manuals