EasyManua.ls Logo

Honeywell Le Sucre - Page 167

Honeywell Le Sucre
316 pages
Print Icon
To Next Page IconTo Next Page
To Next Page IconTo Next Page
To Previous Page IconTo Previous Page
To Previous Page IconTo Previous Page
Loading...
9
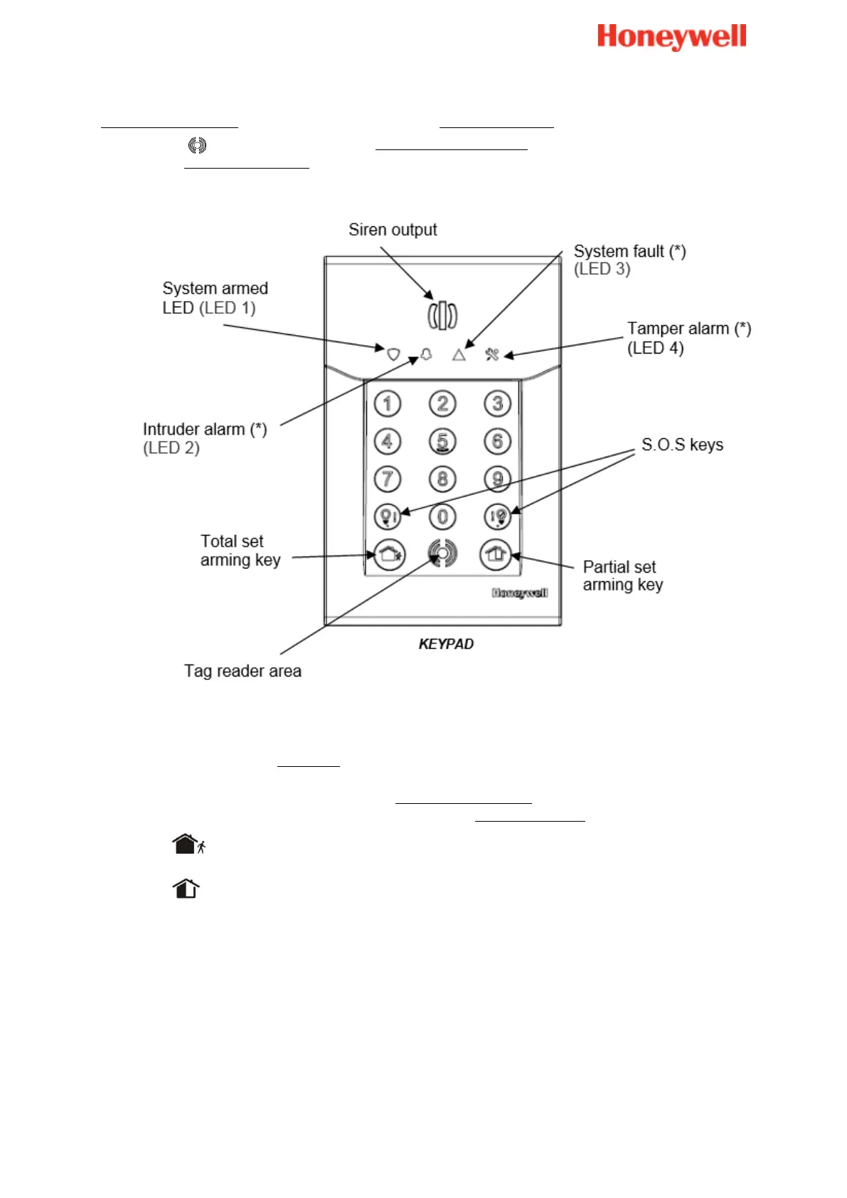
Die Eingabetastatur Das Bedienteil ist mit einem Näherungsleser Leser ausgestattet, der
neben dem Symbol angeordnet ist. In die Eingabetastatur Im Bedienteil sind außerdem
eine Sirene zur Abschreckung sowie 4 LEDs zur Signalisierung des Anlagenstatus integriert.
Mittels Code oder Sender Datenträger scharf schalten
Drücken Sie eine Scharfschalttaste auf der Eingabetastatur dem Bedienteil und geben Sie
den Code ein, oder halten Sie einen eingetragenen Ausweissender Datenträger vor das
Lesegerät.
Schaltet die Anlage komplett scharf
Schaltet die Anlage teilscharf
Die Eingabetastatur gibt den Scharfschaltton gefolgt von zwei Signaltönen für die
Austrittsverzögerung aus.
Nach Ablauf der Austrittsverzögerung wird die Zonenscharfschaltung automatisch
abgeschlossen.
Hinweis:
Stellen Sie sicher, dass auf den Befehl zur Komplettscharfschaltung immer der
Scharfschaltton ausgegeben wird.
Mittels Code oder Sender unscharf schalten
Zum unscharf Schalten des Systems:

Table of Contents

Other manuals for Honeywell Le Sucre

Related product manuals