EasyManua.ls Logo

Honeywell Le Sucre - Page 194

Honeywell Le Sucre
316 pages
Print Icon
To Next Page IconTo Next Page
To Next Page IconTo Next Page
To Previous Page IconTo Previous Page
To Previous Page IconTo Previous Page
Loading...
8
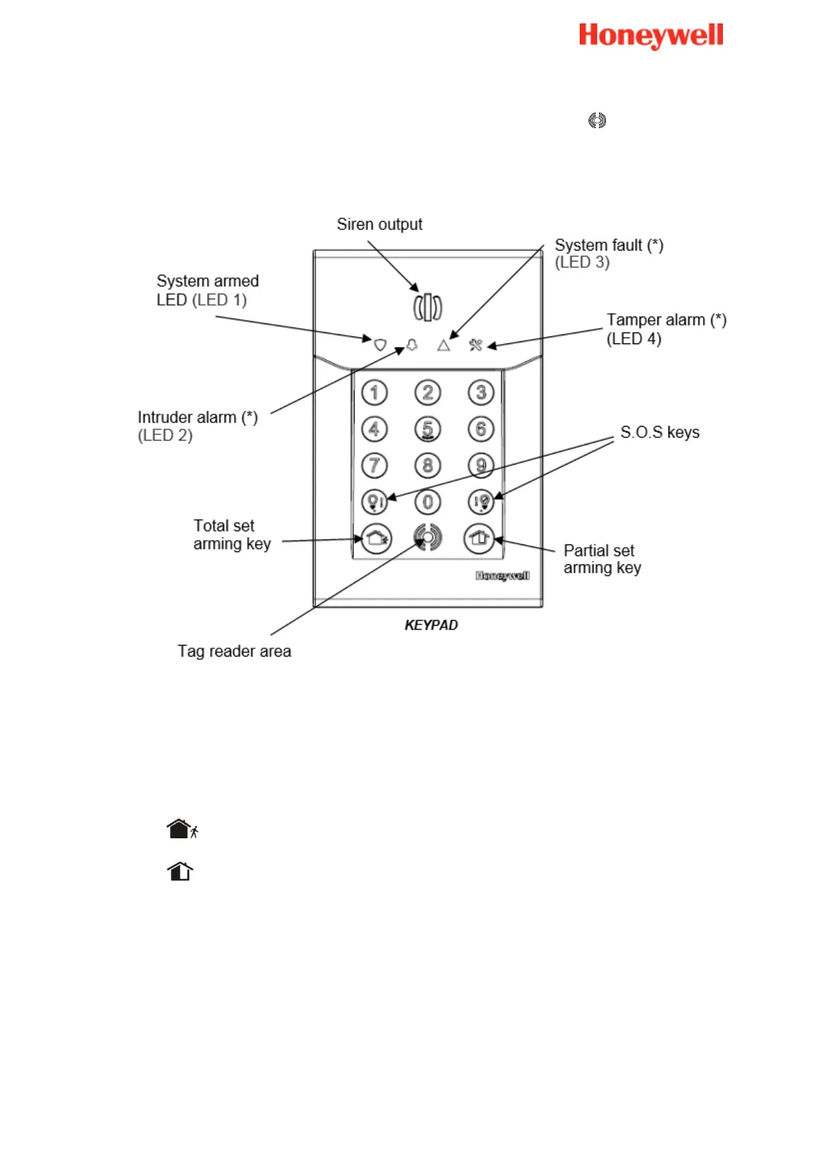
Tastaturet er udstyret med en nærhedstaglæser, der findes ved siden af symbolet.
Tastaturet er også udstyret med en integreret sirene og 4 lysdioder til at informere dig
om systemets status.
Tilkobling ved hjælp af din kode eller tag
Tryk på en tilkoblingstast på tastaturet, og indtast koden eller brug et registreret TAG.
Aktiverer fuldstændig tilkobling
Aktiverer delvis tilkobling
Tastaturet udsender en tilkoblingstone efterfulgt af udgangsforsinkelsesbippene.
Tilkoblingen er automatisk fuldført ved slutningen af udgangsforsinkelsen.
Bemærk:
Sørg altid for, at din anmodning om Fuldstændig tilkobling efterfølges af
tilkoblingstonen.
Frakobling ved hjælp af din kode eller tag
Sådan frakobles systemet:
Indtast en gyldig kode eller brug en registreret TAG.

Table of Contents

Other manuals for Honeywell Le Sucre

Related product manuals