EasyManua.ls Logo

Honeywell Le Sucre - Page 246

Honeywell Le Sucre
316 pages
To Next Page IconTo Next Page
To Next Page IconTo Next Page
To Previous Page IconTo Previous Page
To Previous Page IconTo Previous Page
Loading...
8
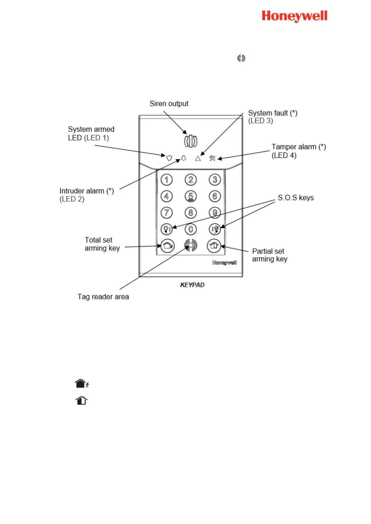
Tastaturet er utstyrt med en berøringsfri kortleser ved siden av symbolet; tastaturet er
også utstyrt med en integrert sirene for varsling samt 4 LED-indikatorer for å informere deg
om systemets status.
Aktivere med bruk av kode eller kort
Hold en aktiveringsnøkkel mot tastaturet og tast inn koden eller anvend et registrert kort.
Total aktivering
Delvis aktivering
Aktiveringssignalet kommer fra tastaturet og etterfølges av pipetonene for
utgangsforsinkelse.
Soneaktiveringen fullføres automatisk på slutten av utgangsforsinkelsen.
Merk:
Ved total aktivering må du alltid forsikre deg om at du hører aktiveringssignalet.
Deaktivere med bruk av kode eller kort
Deaktivere systemet:
Tast inn en gyldig kode eller anvend et registrert kort.

Table of Contents

Other manuals for Honeywell Le Sucre

Related product manuals