EasyManua.ls Logo

Honeywell Le Sucre - Page 272

Honeywell Le Sucre
316 pages
Print Icon
To Next Page IconTo Next Page
To Next Page IconTo Next Page
To Previous Page IconTo Previous Page
To Previous Page IconTo Previous Page
Loading...
8
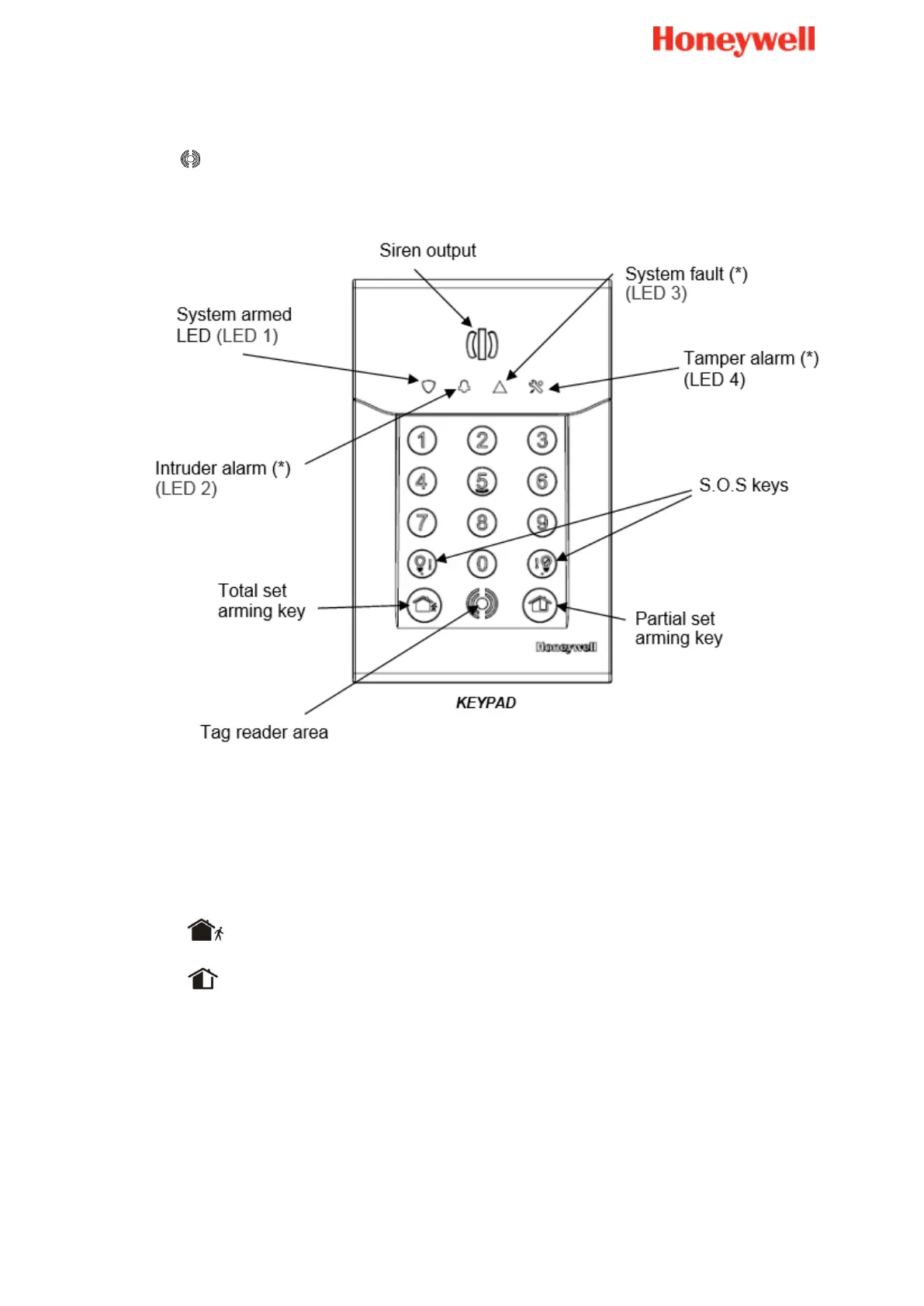
Klawiatura jest wyposażona w zbliżeniowy czytnik pilotów, który znajduje się w pobliżu
symbolu . Klawiatura zawiera także zintegrowaną syrenę odstraszającą i 4 diody LED
informujące o stanie systemu.
Uzbrajanie za pomocą kodu lub pilota
Naciśnij klawisz uzbrajania na klawiaturze i wprowadź kod lub zbliż zarejestrowany pilot.
Włącza całkowite uzbrojenie
Włącza częściowe uzbrojenie
Klawiatura wydaje dźwięk uzbrajania, a następnie dźwięki opóźnienia wyjścia.
Uzbrojenie strefy następuje automatycznie po opóźnieniu wyjścia.
Uwaga:
Zawsze upewnij się, że po poleceniu uzbrojenia całkowitego następuje dźwięk
uzbrajania.
Rozbrajanie za pomocą kodu lub pilota
Aby rozbroić system:
Wprowadź ważny kod lub przyłóż zarejestrowany pilot.

Table of Contents

Other manuals for Honeywell Le Sucre

Related product manuals