EasyManua.ls Logo

Honeywell Le Sucre - Page 60

Honeywell Le Sucre
316 pages
To Next Page IconTo Next Page
To Next Page IconTo Next Page
To Previous Page IconTo Previous Page
To Previous Page IconTo Previous Page
Loading...
8
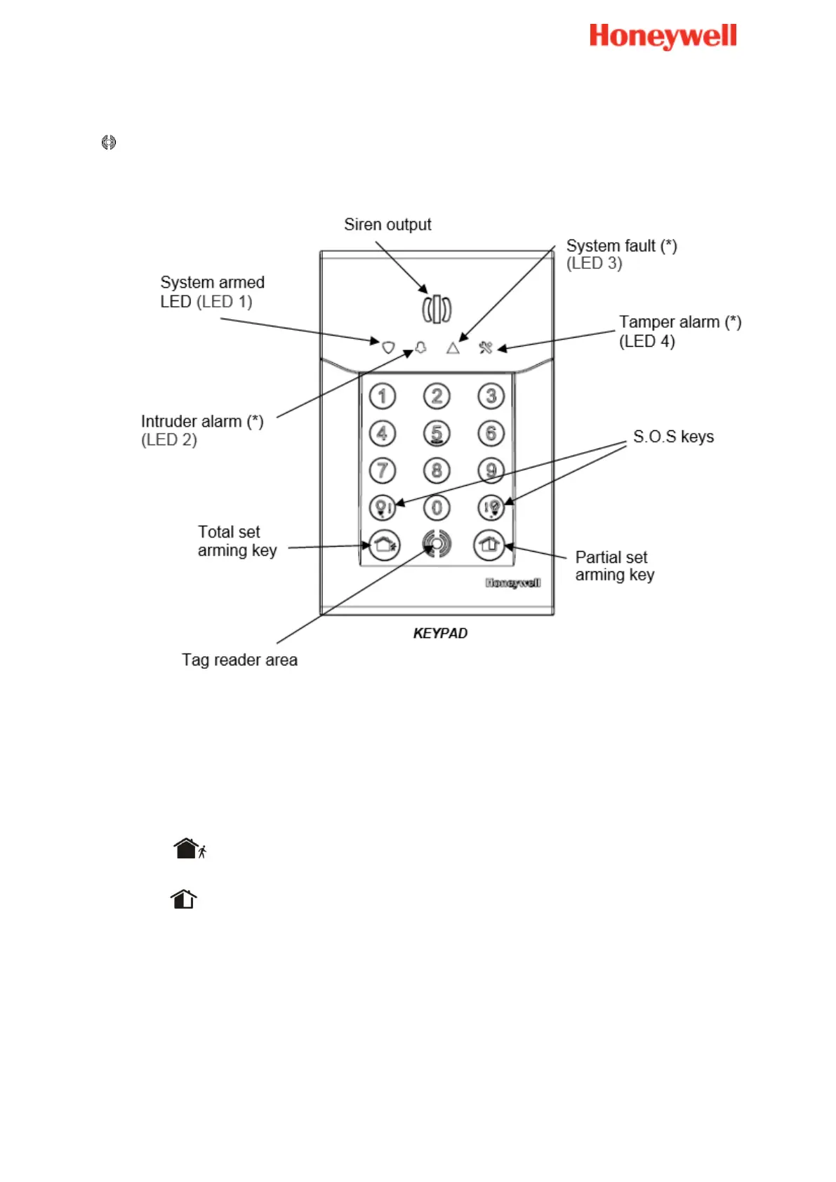
El teclado está equipado con un lector de proximidad de etiquetas situado junto al símbolo
; el teclado también dispone de una sirena integrada como medio disuasorio y 4 LEDs
para informar del estado del sistema.
Armado usando su código o etiqueta
Pulse una tecla de armado en el teclado e introduzca el código o presente una TAG
registrada.
Arma el conjunto total
Arma el conjunto parcial
El teclado emite el tono de armado seguido de los pitidos de retardo para salida.
El armado de la zona se completa automáticamente al final del retardo de salida.
Nota:
Asegúrese siempre de que la solicitud de armado total va seguida del tono de armado.
Desarmado usando su código o etiqueta
Para desarmar su sistema:
Introduzca un código válido o presente una TAG registrada.

Table of Contents

Other manuals for Honeywell Le Sucre

Related product manuals