EasyManua.ls Logo

Honeywell Le Sucre - Arming the System with Keypad

Honeywell Le Sucre
316 pages
Print Icon
To Next Page IconTo Next Page
To Next Page IconTo Next Page
To Previous Page IconTo Previous Page
To Previous Page IconTo Previous Page
Loading...
8
By default, user 1 has code 1234. Don’t forget to change it at installation!
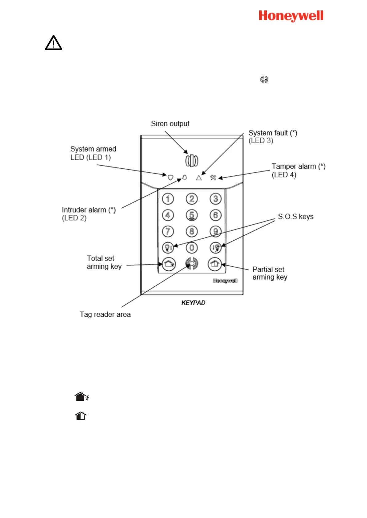
The keypad is equipped with a proximity tag reader, located next to the symbol; the
keypad also features an integrated siren as a deterrent and 4 LEDs to inform you on system
status.
Arming using your code or tag
Press an arming key on the keypad and enter the code or present a registered TAG.
Arms the total set
Arms the partial set
The arming tone is emitted by the keypad followed by the exit delay beeps.
The zone set arming is completed automatically at the end of the exit delay.
Note:
Always make sure that your Total arming request is followed by the arming tone.

Table of Contents

Other manuals for Honeywell Le Sucre

Related product manuals