EasyManua.ls Logo

Honeywell Le Sucre - Page 86

Honeywell Le Sucre
316 pages
Print Icon
To Next Page IconTo Next Page
To Next Page IconTo Next Page
To Previous Page IconTo Previous Page
To Previous Page IconTo Previous Page
Loading...
8
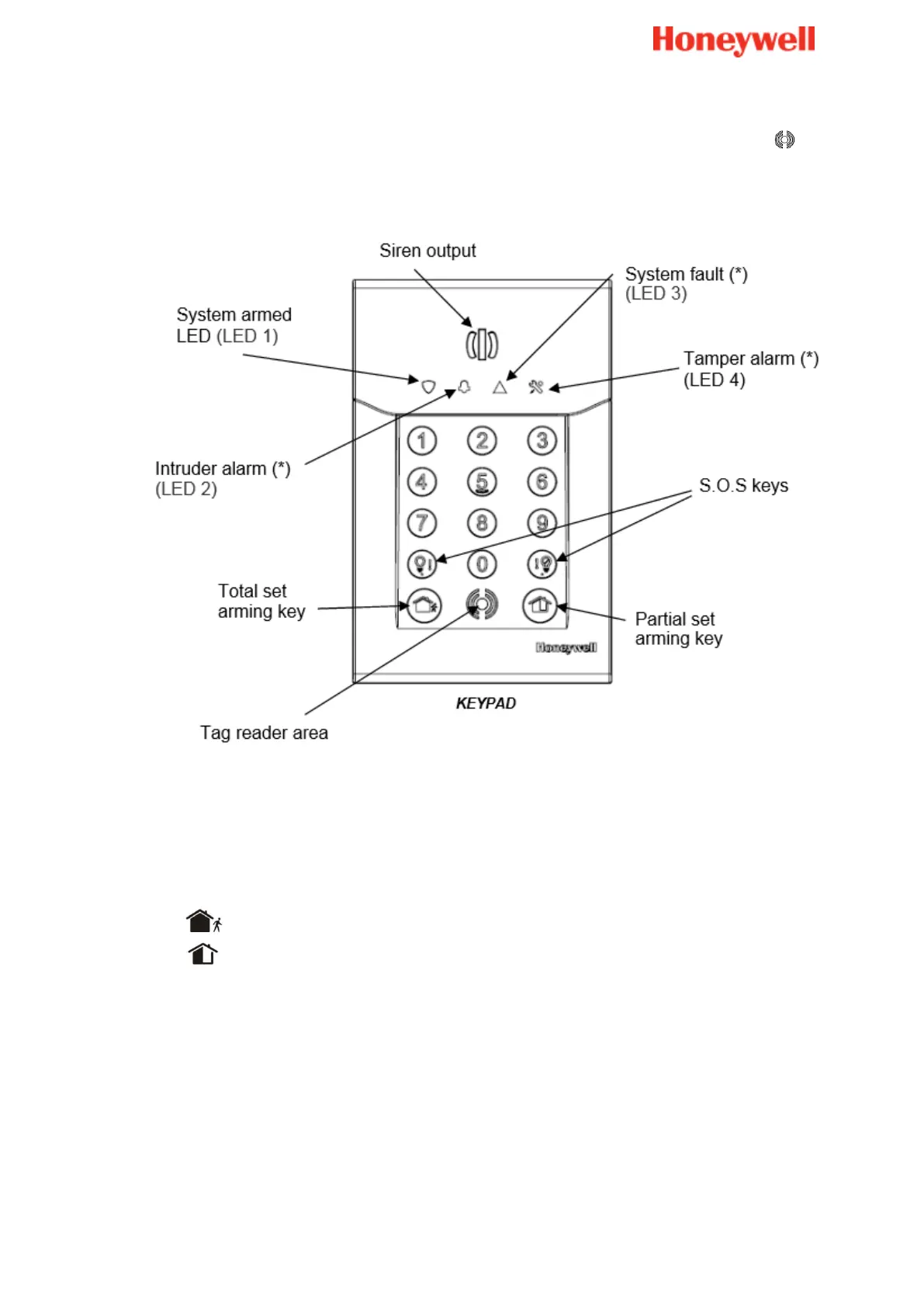
O teclado está equipado com um leitor de tag de proximidade, situado perto do símbolo ; o
teclado também apresenta uma sirene integrada como um elemente dissuasor e 4 LEDs
para o informar o estado do sistema.
Ativar usando o seu código ou tag
Pressione uma tecla de ativação no teclado e introduza o código ou apresente um TAG
registado.
Ativa a definição total
Ativa a definição parcial
O tom de ativação é emitido pelo teclado seguido pelos bipes de atraso de saída.
A ativação de definição de zona é concluída automaticamente no fim do atraso de saída.
Nota:
Certifique-se sempre de que a sua solicitação de ativação Total é seguida pelo tom
de ativação.
Desativar usando o seu código ou tag
Para desativar o seu sistema:
Introduzir um código válido ou apresentar um TAG registado.

Table of Contents

Other manuals for Honeywell Le Sucre

Related product manuals