EasyManua.ls Logo

Honeywell R4184D - Page 3

Honeywell R4184D
6 pages
To Next Page IconTo Next Page
To Next Page IconTo Next Page
To Previous Page IconTo Previous Page
To Previous Page IconTo Previous Page
Loading...
69-0618—3
3
R4184D; R8184G,M,N,P Protectorelay
®
OIL PRIMARY CONTROLS
JUNCTION BOXTHERMOSTAT
BLACK
ORANGE
WHITE
R2
SAFETY
SWITCH
M716A
POWER SUPPLY. PROVIDE DISCONNECT MEANS
AND OVERLOAD PROTECTION AS REQUIRED.
CAD CELL
F
T
T
F
R8184G PROTECTORELAY® CONTROL
SAFETY
SWITCH
HEATER
1K
TRIAC
BILATERAL
SWITCH
CAPACITOR
R1
1K2
1K1
1
TO USE R8184 WITH LINE VOLTAGE CONTROLLER, JUMPER T-T TERMINALS AND
CONNECT LINE VOLTAGE THERMOSTAT IN SERIES WITH LIMIT CONTROLLER.
2
2
2
1
IGNITION
LIMIT
LINE VOLTAGE
THERMOSTAT
OIL VALVE
(OPTIONAL)
BURNER
MOTOR
L2
L1
(HOT)
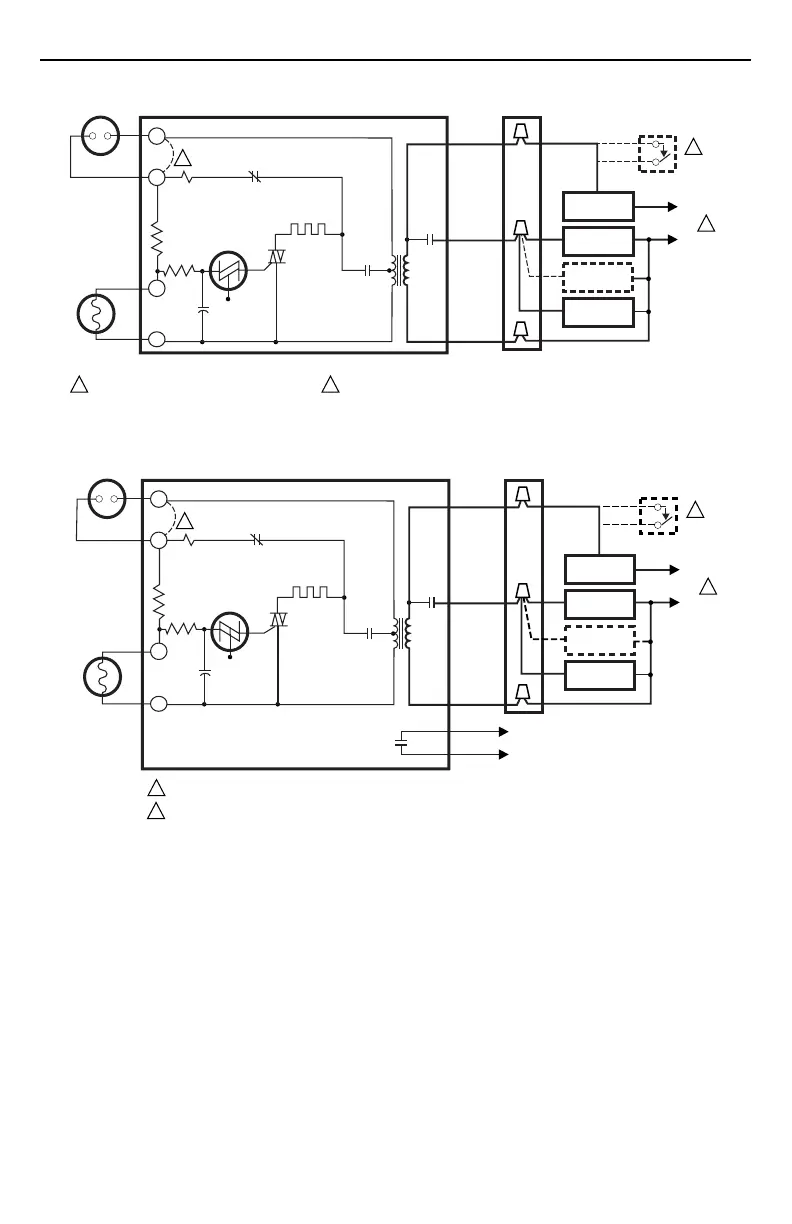
Fig. 4. Typical hookup for R8184G.
JUNCTION BOXTHERMOSTAT
BLACK
ORANGE
WHITE
RED
RED
R2
SAFETY
SWITCH
SAFETY
SWITCH
TO REMOTE
ALARM CIRCUIT
M5172A
POWER SUPPLY. PROVIDE DISCONNECT MEANS AND OVERLOAD PROTECTION AS REQUIRED.
TO USE R8184 WITH LINE VOLTAGE CONTROLLER, JUMPER T-T TERMINALS AND CONNECT LINE VOLTAGE THERMOSTAT
IN SERIES WITH LIMIT CONTROLLER.
CAD CELL
F
T
T
F
R8184G PROTECTORELAY® CONTROL
SAFETY
SWITCH
HEATER
1K
TRIAC
BILATERAL
SWITCH
CAPACITOR
R1
1K2
1K1
1
2
2
2
1
IGNITION
LIMIT
LINE VOLTAGE
THERMOSTAT
OIL VALVE
(OPTIONAL)
BURNER
MOTOR
L2
L1
(HOT)
Fig. 5. Typical hookup for R8184G with dry contacts for remote alarm.

Related product manuals