EasyManua.ls Logo

HP 206A - Circuit Description

HP 206A
44 pages
Print Icon
To Next Page IconTo Next Page
To Next Page IconTo Next Page
To Previous Page IconTo Previous Page
To Previous Page IconTo Previous Page
Loading...
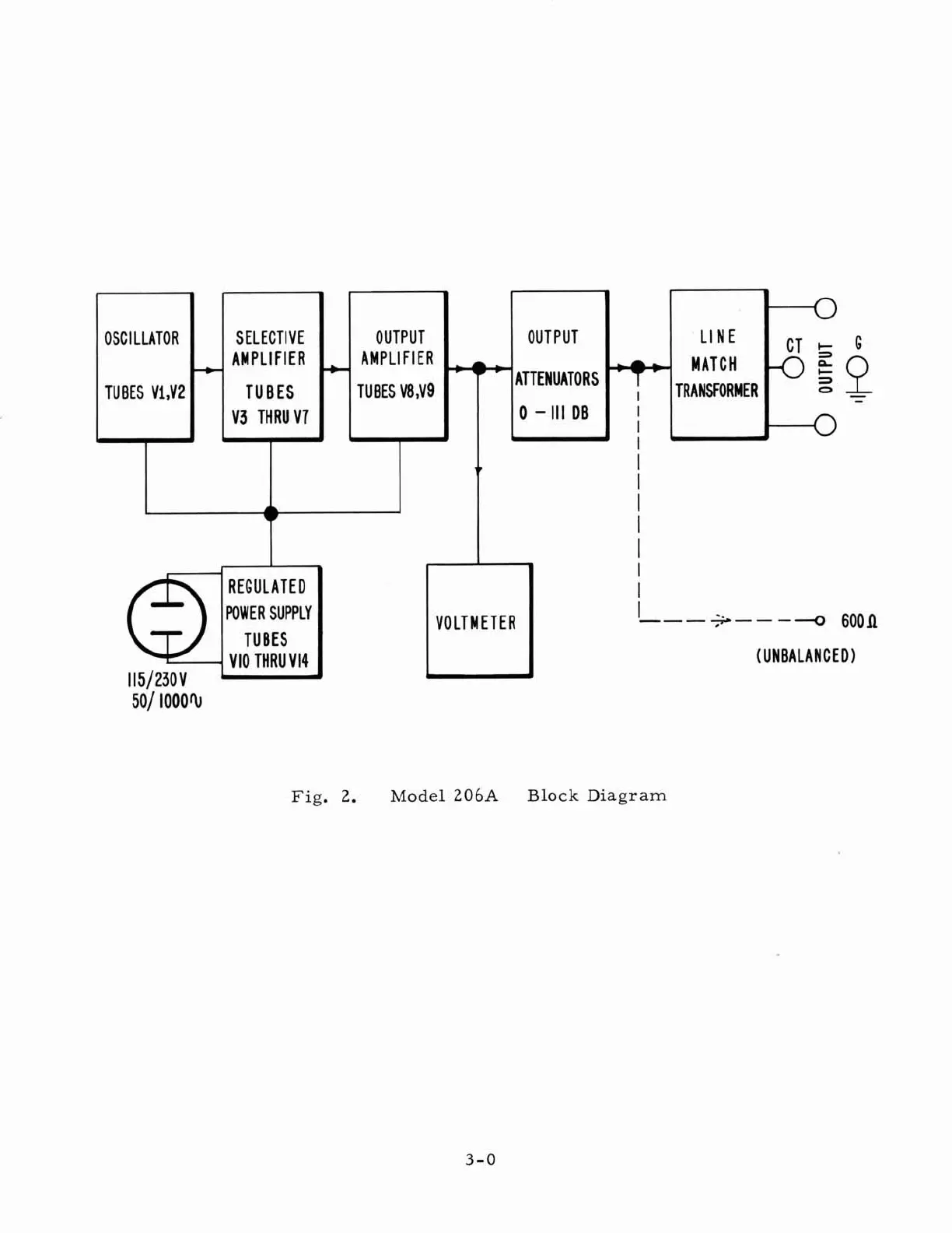
REGULATED
POWER SUPPLY
TUBES
VOLTMETER
0
(UNBALANCED)
-
OUTPUT
AMPLIFIER
TUBES
V8,V9
OSCl LLATOR
TUBES
Vi,V2
,
501
I000
b
Fig.
2.
Model
206A
Block
Diagram
-
OUTPUT
CT
G
MATCH
ATTENUATOR S
TRANSFORMER
Q
E
9
-
-
0
-
Ill
DB
I
SELECTIVE
AMPLIFIER
TUBES
V3 THRU
V7
I
..
.
.
I-
I
w
I
I
I
I
I

Related product manuals