EasyManua.ls Logo

HP 3490A - Page 170

HP 3490A
298 pages
Print Icon
To Next Page IconTo Next Page
To Next Page IconTo Next Page
To Previous Page IconTo Previous Page
To Previous Page IconTo Previous Page
Loading...
t-;l
,i
''1"-
H
ffi-,'-r{{**-*l
\--------. t-------
| I |
|
|
|
|
4Er48r48r40
|--ur--l f
wl
t
u4-l
f-C-l
t7tft7t7l
1:
oc
'49
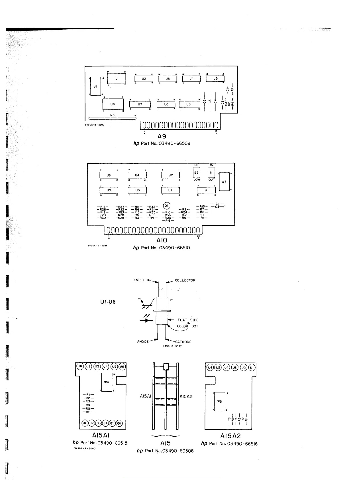
hp
Port No.
O349O-66509
ftftTl
lu6llu4llvTl
8K6i4814
t-
us-l
i-
url
I-
u,-l
8t4B14814
0000000000000000000
/:\
-cr-
_RZ7_
_R'_
_RJZ_
\q, /
_Rt5_
_C2_
-R22- -R6- -R3r- -R2-
-R7-
-R2l- -Rr3- -Rzl- -RrO- -R24-
-R8-
-R28- -R5- -Rr2- -R33- -Rr7-
-Rl4-
-xzg- -K5- -X4- -nZ5- -Xv-
nn
l.'l l' l l---.l"
T
-l',.
l
l-ll't
'.
-
Rt8-
-
R26-
-R30-
Alo
hp
Port
No. O349O-66510
COLLECTOR
U1.U6
,/t,
--ft-
FLAT
SIDE
OR
coLoR ooT
AI5AI
hp Port
No.0349O-665t5
3490A-6-5000
-
AICi
Ftv
hp
Port
No.O349O-60306
AI5A2
hp eort
No.
03490-665t6
rf-----lr.
tt
tl
lw4 |
tl
rL_____l
8
-Rt-
-R2 -
-R3-
-R4
-
-R5-
Get other manuals https://www.bkmanuals.com

Table of Contents

Related product manuals