EasyManua.ls Logo

HP 3490A - Page 243

HP 3490A
298 pages
Print Icon
To Next Page IconTo Next Page
To Next Page IconTo Next Page
To Previous Page IconTo Previous Page
To Previous Page IconTo Previous Page
Loading...
l;U
r--r
GNO
a
14
g
l-u'
-l
l7
@o
@
@
I
I
s
lrliJü
ITTTTT?9
I
a
o
I
I
t.l
I
E=E,N
?;?T
tll
Fo@
f f I tc r
|
|
|
aoa
aao
t4
lt
I
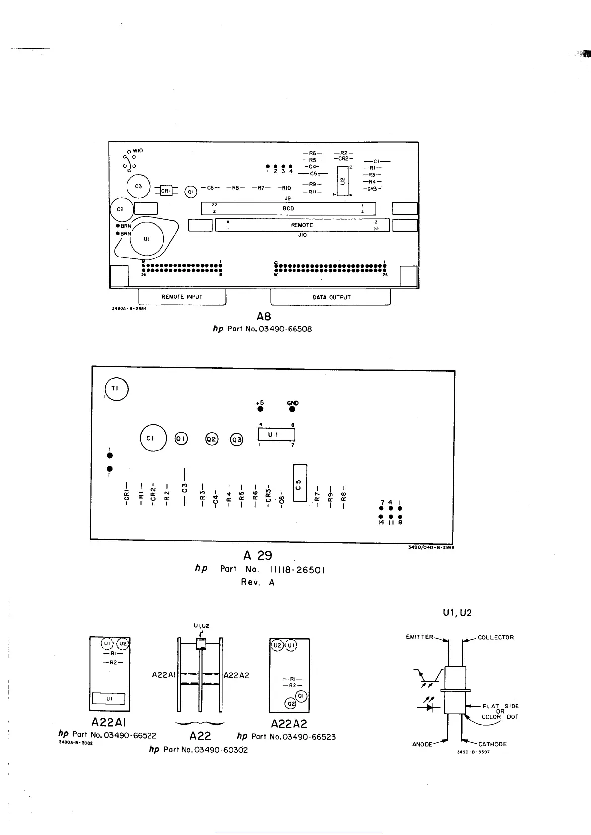
hp
Port
No.
o349o-66522
3490A-A-
5002
hp
porf
429
No.
llllS-26501
Rev.
A
422A2
422
hp
pott
No.03490-66523
Ul,U2
A22Al
A22Al
42242
hp
Port
No.0349O-60302
Get other manuals https://www.bkmanuals.com

Table of Contents