EasyManua.ls Logo

HP 39g+ - Enter Data

HP 39g+
294 pages
Print Icon
To Next Page IconTo Next Page
To Next Page IconTo Next Page
To Previous Page IconTo Previous Page
To Previous Page IconTo Previous Page
Loading...
8-2 Statistics aplet
Open the
Statistics aplet
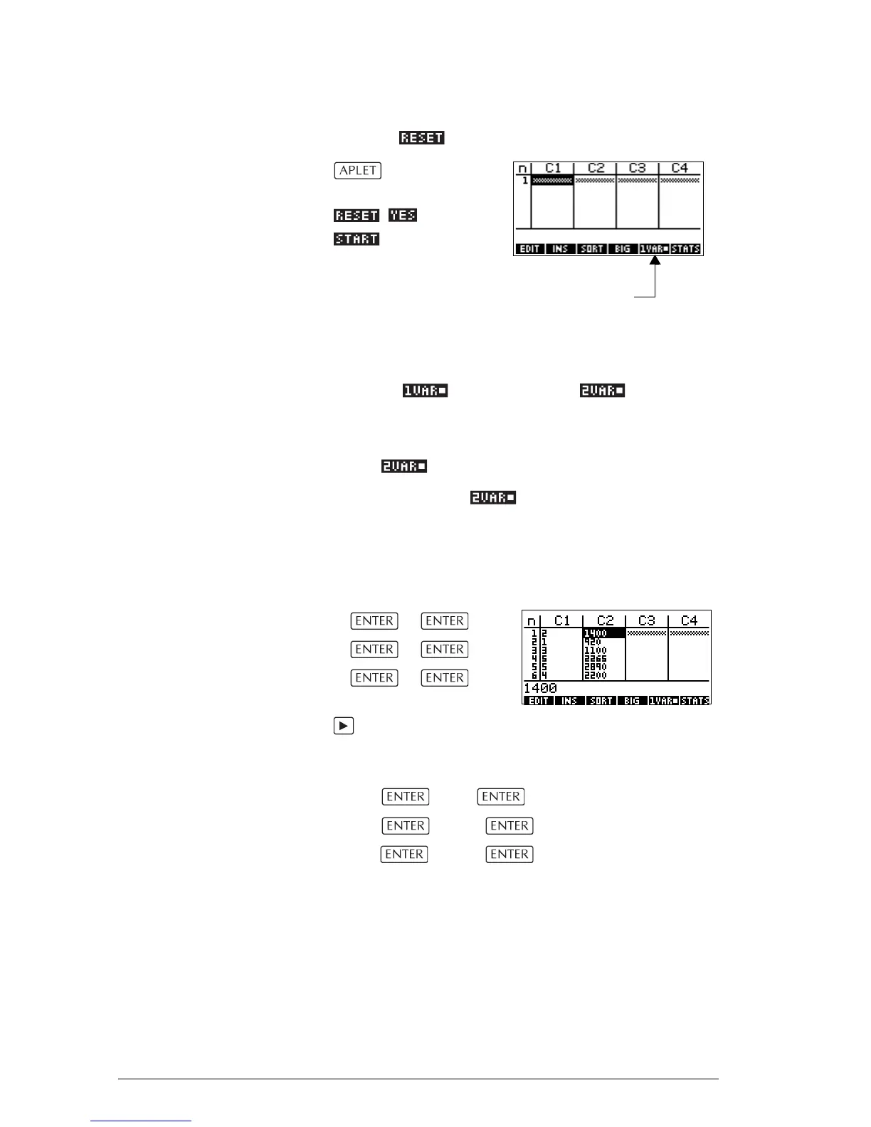
1. Open the Statistics aplet and clear existing data by
pressing .
Select Statistics
The Statistics aplet
starts in the Numerical
view.
At any time the Statistics aplet is configured for only
one of two types of statistical explorations: one-
variable ( ) or two-variable ( ). The 5th
menu key label in the Numeric view toggles between
these two options and shows the current option.
2. Select .
You need to select because in this example
we are analyzing a dataset comprising two
variables: advertising minutes and resulting sales.
Enter data 3. Enter the data into the columns.
2 1
3 5
5 4
to move to the next
column
1400 920
1100 2265
2890 2200
1VAR/2VAR
menu key label

Table of Contents

Related product manuals