EasyManua.ls Logo

HP PAVILION DV2700 - Page 152

HP PAVILION DV2700
191 pages
Print Icon
To Next Page IconTo Next Page
To Next Page IconTo Next Page
To Previous Page IconTo Previous Page
To Previous Page IconTo Previous Page
Loading...
Where used:
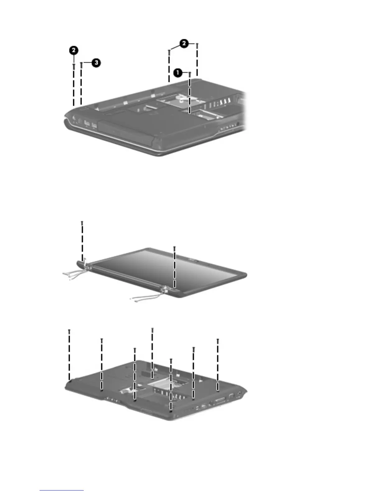
(1) One screw that secures the optical drive to the computer
(2) Three screws that secure the switch cover to the computer
(3) One screw that secures the display assembly to the computer
Where used: 2 screws that secure the display bezel bottom edge to the display assembly
Where used: 7 screws that secure the top cover to the computer
144 Chapter 7 Screw listing

Table of Contents

Related product manuals