EasyManua.ls Logo

HP ProLiant ML310 Generation 4

HP ProLiant ML310 Generation 4
72 pages
To Next Page IconTo Next Page
To Next Page IconTo Next Page
To Previous Page IconTo Previous Page
To Previous Page IconTo Previous Page
Loading...
Removal and replacement procedures 31
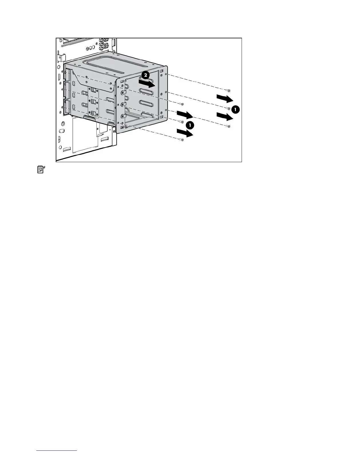
8.
Remove the hot-plug hard drive cage.
NOTE: If replacing only the hard drive cage, retain the backplane for use with the replacement hard drive
cage.
To replace the component, reverse the removal procedure.
Hot-plug SAS or SATA backplane
To remove the component:
1. Power down the server (on page 25).
2. Remove the server from the rack, if necessary ("Remove the server from the rack" on page 25).
3. Remove the bezel ("Unlock the tower bezel" on page 26).
4. Remove the access panel ("Access panel" on page 26).
5. Remove all hot-plug hard drives ("Hot-plug SAS and SATA hard drives" on page 29).
6. Remove the hard drive cage fan and baffle ("Hard drive cage fan and baffle" on page 28).
7. Disconnect the power and data cables.
8. Remove the hot-plug hard drive cage ("Hot-plug SAS and SATA hard drive cage" on page 30).

Related product manuals