EasyManua.ls Logo

HP SN8000B - Page 3

HP SN8000B
13 pages
Print Icon
To Next Page IconTo Next Page
To Next Page IconTo Next Page
To Previous Page IconTo Previous Page
To Previous Page IconTo Previous Page
Loading...
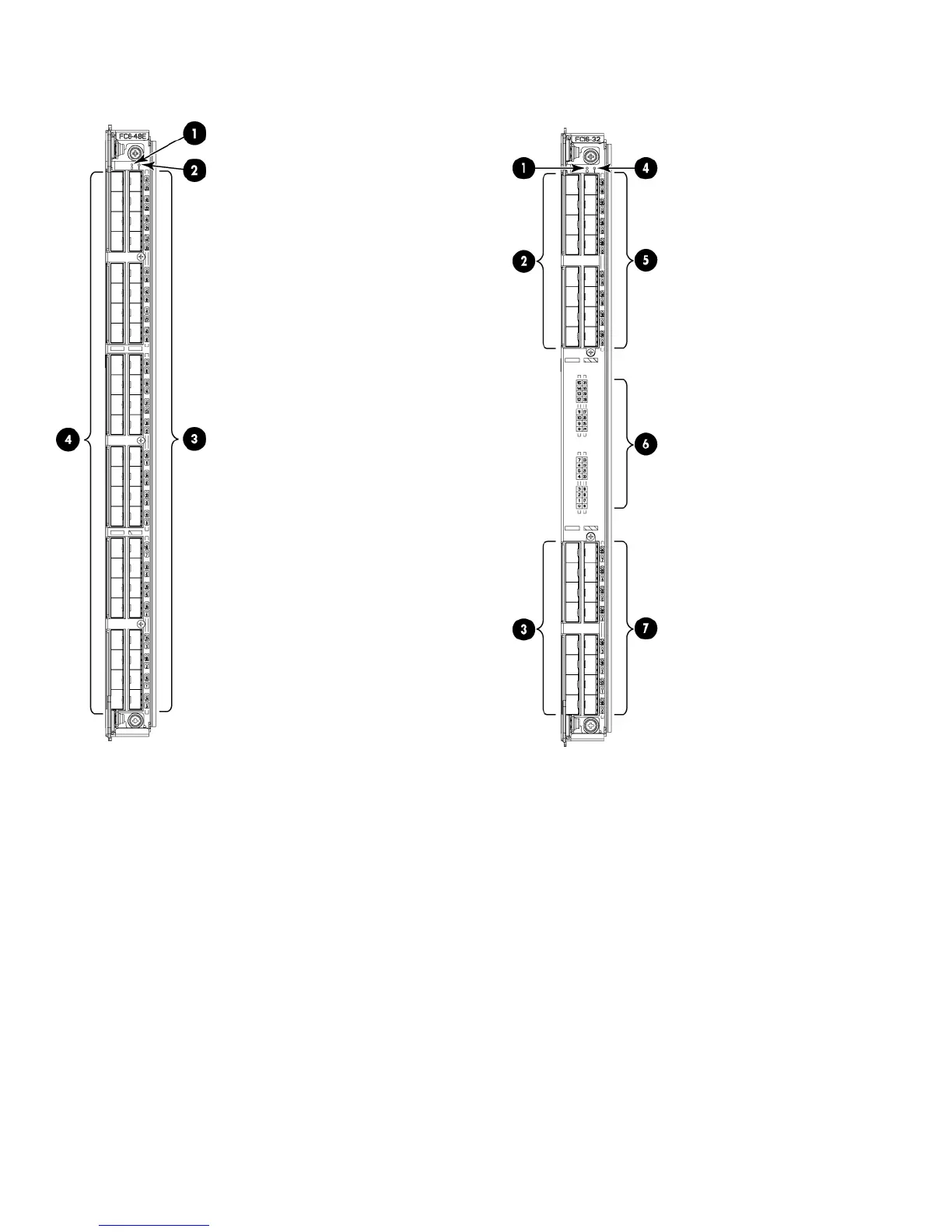
FC8-48E components
Figure 2 FC8-48E
2. Status LED1. Power LED
4. FC ports 0–233. FC ports 24–47
FC16-32 components
Figure 3 FC16-32
2. FC ports 8–151. Power LED
4. Port status LED3. FC ports 0–7
6. Port and trunking group map5. FC ports 24–31
7. FC ports 16–23
Page 3

Related product manuals