EasyManua.ls Logo

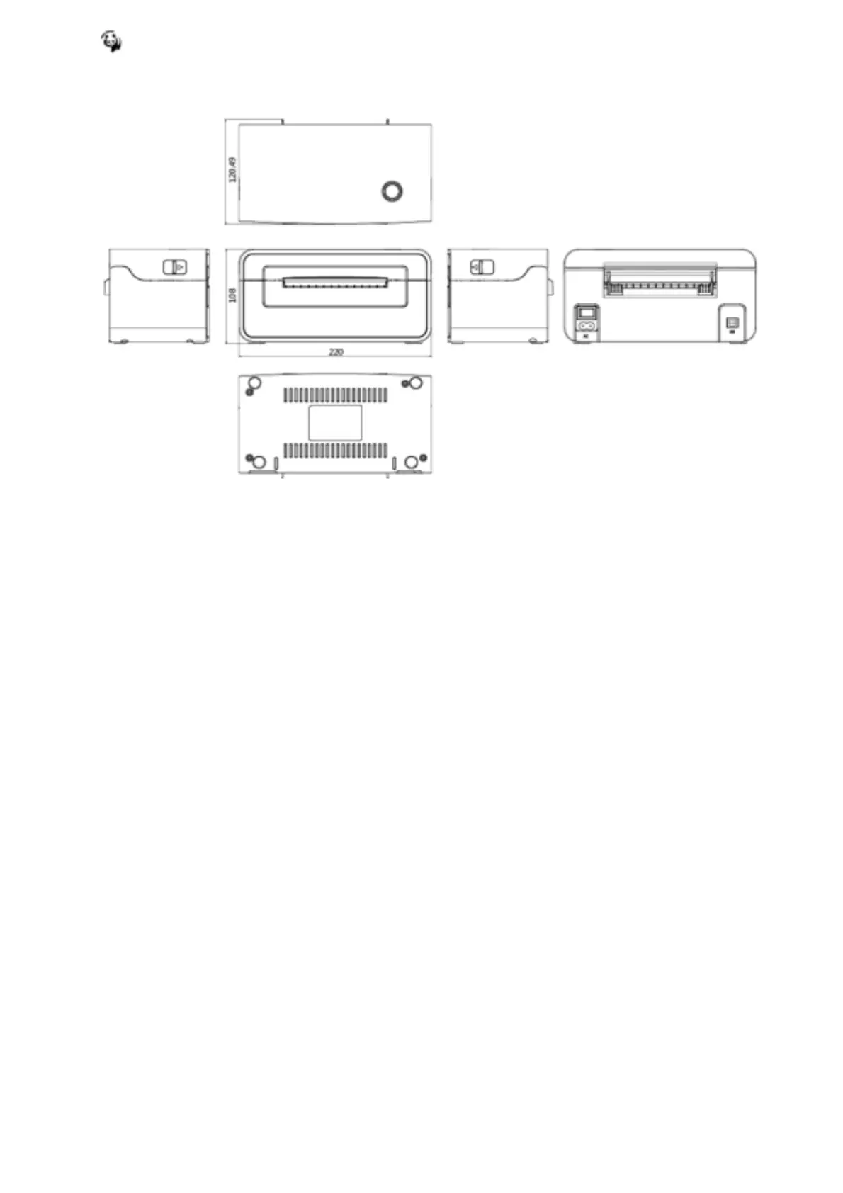
HPRT SL42 - Printer Dimensions

HPRT SL42
59 pages
Print Icon
To Next Page IconTo Next Page
To Next Page IconTo Next Page
To Previous Page IconTo Previous Page
To Previous Page IconTo Previous Page
Loading...
SL42 User Manual
8
1.3 Dimension

Other manuals for HPRT SL42

Related product manuals