EasyManua.ls Logo

HTP UFT-199W - Page 48

Default Icon
90 pages
Print Icon
To Next Page IconTo Next Page
To Next Page IconTo Next Page
To Previous Page IconTo Previous Page
To Previous Page IconTo Previous Page
Loading...
48
LP-542 REV. 6.2.16
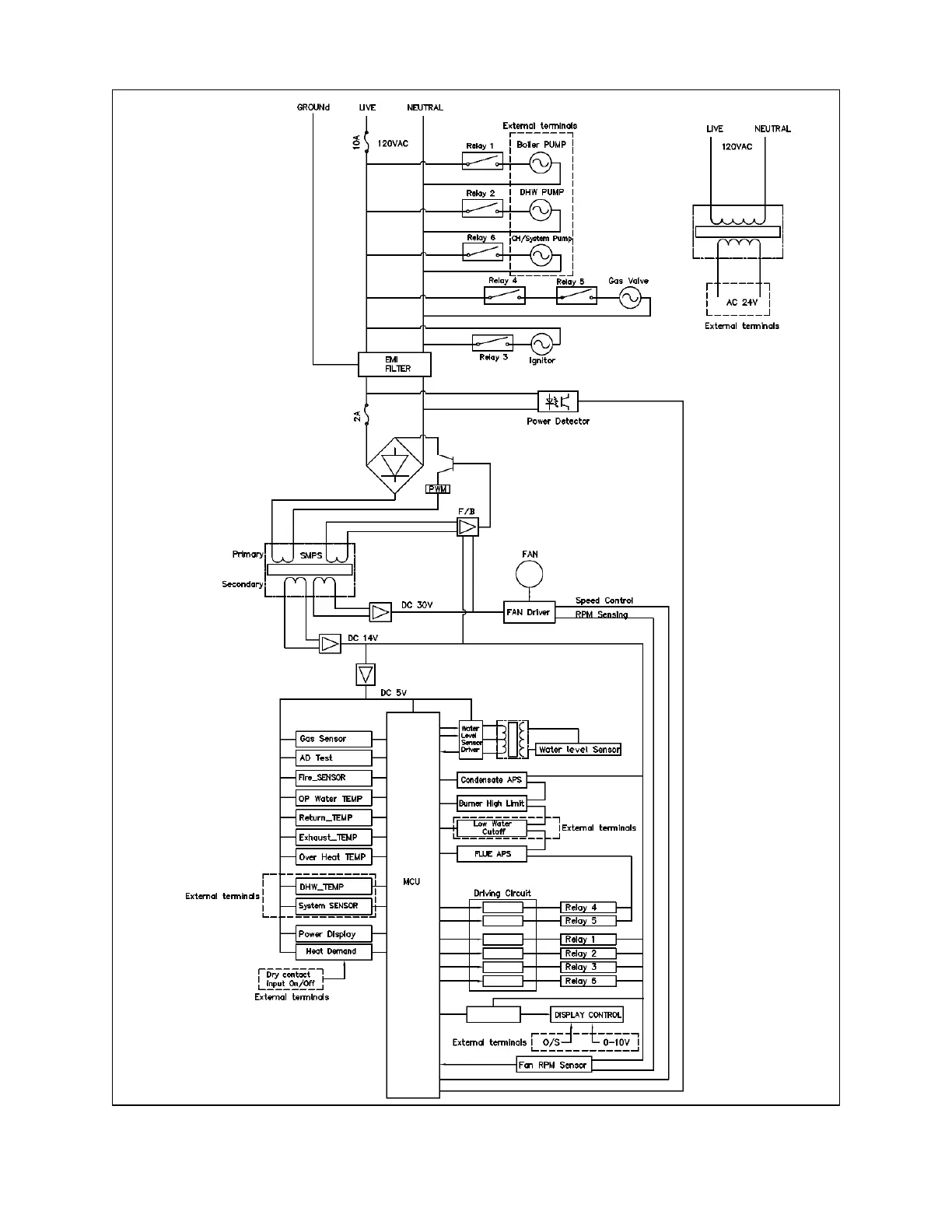
Figure 39 Ladder Diagram

Table of Contents

Other manuals for HTP UFT-199W

Related product manuals