EasyManua.ls Logo

HTP UFT-199W - Error Tree Analysis; Flame Detection; Gas Detection

Default Icon
90 pages
Print Icon
To Next Page IconTo Next Page
To Next Page IconTo Next Page
To Previous Page IconTo Previous Page
To Previous Page IconTo Previous Page
Loading...
63
LP-542 REV. 6.2.16
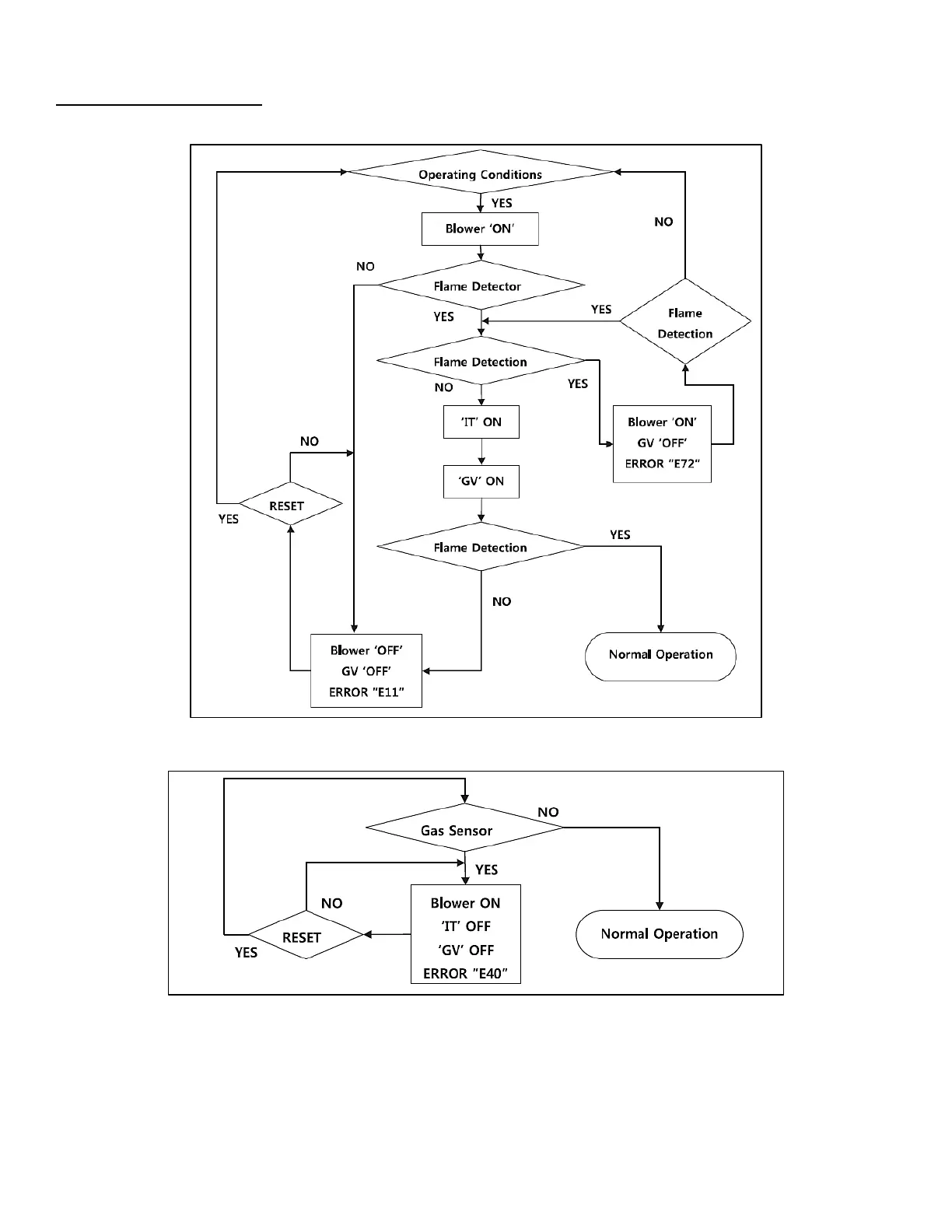
M. ERROR TREE ANALYSIS
1. FLAME DETECTION
Figure 52 Flame Detection Error Analysis Tree
2. GAS DETECTION
Figure 53 Gas Detection Error Analysis Tree

Table of Contents

Other manuals for HTP UFT-199W

Related product manuals