EasyManua.ls Logo

Htzsafe 805A - Page 6

Htzsafe 805A
12 pages
Print Icon
To Next Page IconTo Next Page
To Next Page IconTo Next Page
To Previous Page IconTo Previous Page
To Previous Page IconTo Previous Page
Loading...
6
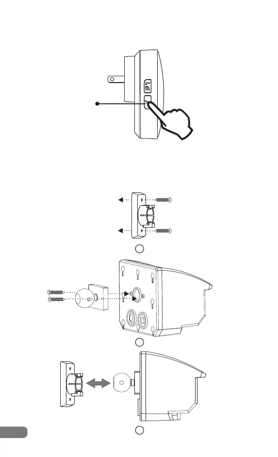
Step 4
total 35 melodies optional.
Press “Melody” once to choose the melody for this sensor,
Step 5
Same steps for the other sensors
Step 6
Installations
Melody
short screws
long screws
Wireless Motion Sensor
1
2
3

Related product manuals