EasyManua.ls Logo

Hubbell J - Page 19

Hubbell J
40 pages
Print Icon
To Next Page IconTo Next Page
To Next Page IconTo Next Page
To Previous Page IconTo Previous Page
To Previous Page IconTo Previous Page
Loading...
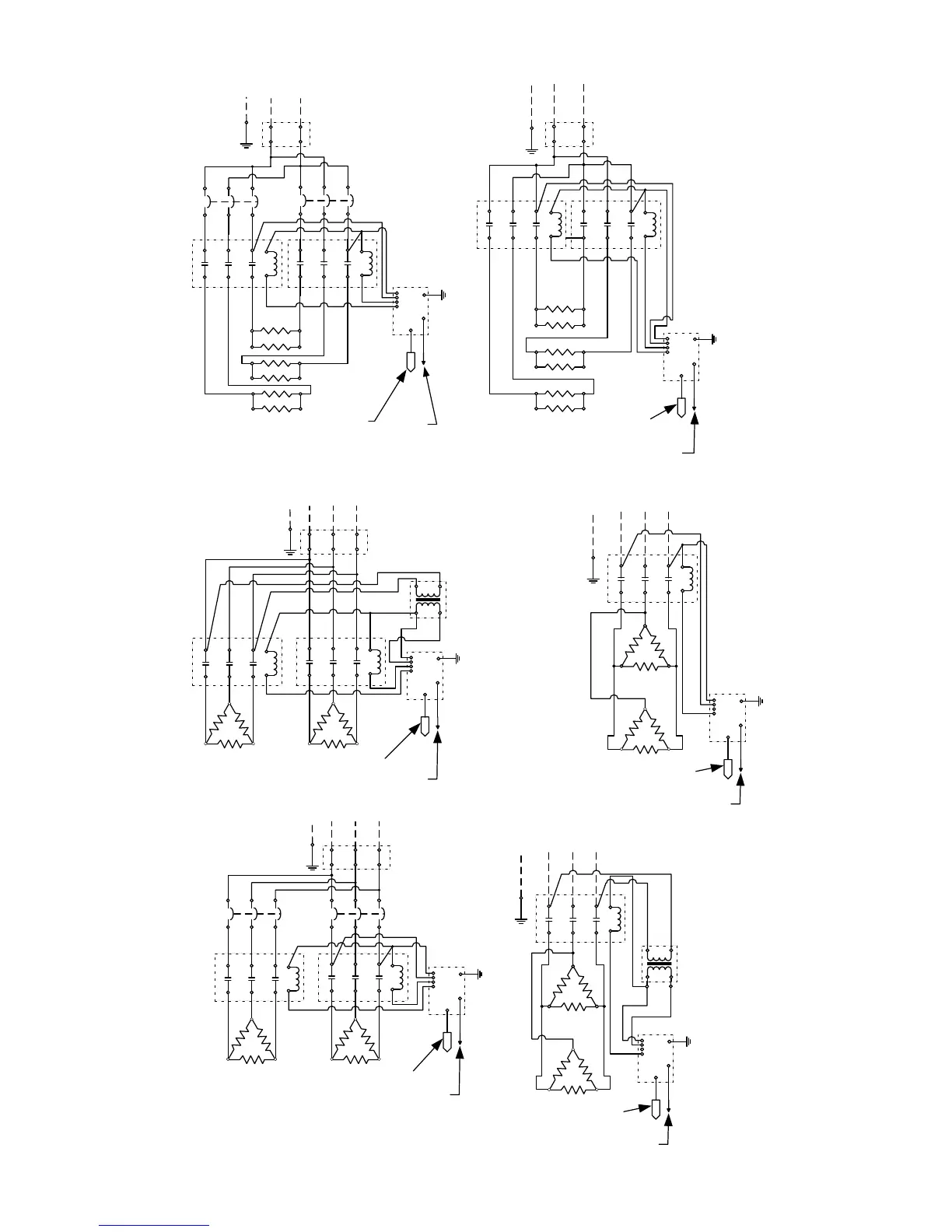
6A
L1 L2
J5
J3
J2
Control, Low
Water, & Hi-Limit
Probe
Leak
Detection
Probe
Control
Module &
Display
J7
3A
L1 L2
J5
J3
J2
Control, Low Water,
& Hi-Limit Probe
Leak Detection
Probe
Control
Module &
Display
J7
13 (NT)
L1 L3L2
J5
J3
J2
Control, Low Water,
& Hi-Limit Probe
Leak Detection Probe
Control
Module &
Display
J7
12 (WT)
L1 L2 L3
J5
J3
J2
Control, Low Water,
& Hi-Limit Probe
Leak Detection Probe
Control
Module &
Display
J7
12
L1 L2 L3
J5
J3
J2
Control, Low Water,
& Hi-Limit Probe
Leak
Detection
Probe
Control
Module &
Display
J7
13(WT)
L1 L3L2
J5
J3
J2
Control, Low Water,
& Hi-Limit Probe
Leak
Detection
Probe
Control
Module &
Display
J7

Table of Contents

Related product manuals