EasyManua.ls Logo

Huck ALCOA 212 - Page 28

Huck ALCOA 212
34 pages
Print Icon
To Next Page IconTo Next Page
To Next Page IconTo Next Page
To Previous Page IconTo Previous Page
To Previous Page IconTo Previous Page
Loading...
212 Series Tooling Alcoa Fastening Systems
26
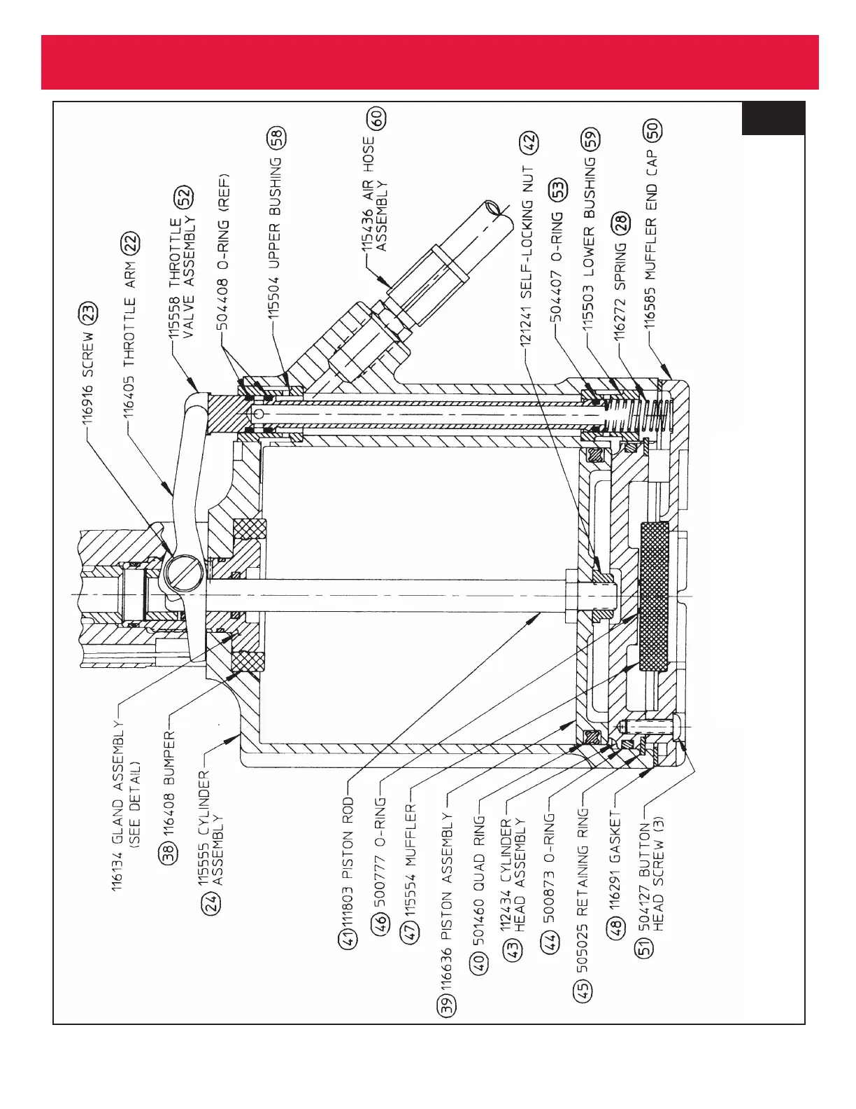
Fig. 13
Cylinder Assembly

Related product manuals