EasyManua.ls Logo

Husky 754902 - Package Contents

Husky 754902
8 pages
Print Icon
To Next Page IconTo Next Page
To Next Page IconTo Next Page
To Previous Page IconTo Previous Page
To Previous Page IconTo Previous Page
Loading...
4
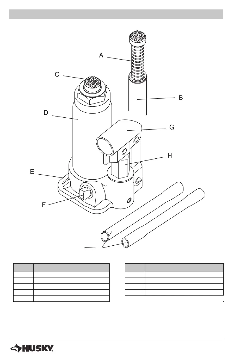
Packa
g
e Contents
Part Description
B Ram
C Saddle
D Oil Tank
E Base
Part Description
F Release Valve
G Handle Socket
H Plunger
I Handle
A
Extension Screw
I

Related product manuals